DAVID CONTRA GOLIAT
“La calzada de los muertos y las avenidas este y oeste constituyen los dos ejes de Teotihuacan” (los responsables del Instituto Nacional de Antropología e Historia en dicha ciudad). Dicha afirmación es comparable a decir que la tierra es plana.
La primavera del 2006, un punto de información del INAH me dio el correo de uno de los responsables “competentes” en Teotihuacan, el mes siguiente a propósito de una de las actualizaciones, le mande un resumen. Hasta la fecha de hoy no me ha respondido, quizás porque mi resumen no fue adecuado… o quizás porque los responsables de Teotihuacan (que actualmente son los mismos que entonces) no han escuchado durante 35 años al investigador que tomó las medidas en las que me baso.
Da la impresión que para ellos que Teotihuacan sea considerada una ciudad única en el mundo, al menos hasta que se encuentren características análogas en otras ciudades del mundo, es menos importante que admitir que durante ese tiempo prolongado se han equivocado.
La opinión de los investigadores y arqueólogos a los que les he expuesto la situación, es que en Teotihuacan ya no se deja tomar medidas, política de conservación y explotación de sus “vacas sagradas”, por lo visto, bastante común. Por mi parte, puedo decir que dichos responsables han dividido la ciudad en cuadrantes de 57metros, pero, a parte de que considero que esa división no es tan acertada, no mencionan que se tratan de 54hunabs (medida del investigador en el que me baso). Lo que me hace pensar, por un lado, si se podría tratar de los “9 hatos de 3 cañas verdes cada uno” del mito de los cinco soles cuando hace referencia a Teotihuacan, y por otro lado, si se tratará de un plagio, para colmo, mal hecho.
Este aspecto realmente no me interesa mucho, pero sí me interesa que a partir de mi descubrimiento sobre los verdaderos ejes, la perspectiva sobre este yacimiento arqueológico cambie, y por tanto, la política de fondos destinados a el, también. Por eso, mi política va a ser la de mandarles un ultimátum cuando se publique esta actualización, en el que les comunicaré que, si me responden en un plazo de dos meses a partir de entonces, permitiré que se borre este apartado, de cumplirse el plazo, no cambiaré mi postura, pase lo que pase.
RESUMEN
Este estudio, debido a su amplitud y complejidad, necesita de un resumen. En verdad, aunque no lo dividí así, la reconstrucción que he hecho de Teotihuacan, procurando imitar la construcción original, se basa en tres pasos. A partir de “las pistas” que han quedado de nuestros antepasados, he dilucidado lo siguiente:
Primer paso: en este paso, han reflejado tres números (2920, 3600 y 3744). ¿Cómo lo hicieron? Con una función de distribución, en este caso, no de puntos sino de construcciones en una ciudad que mide lo mismo de largo, ancho y alto (2448 hunabs); y en el que el valor de cada punto siempre se calcula sumando las distancias de dicho punto a tres construcciones. Los 2920 (8 años terrestres y 5 ciclos sinódicos venusinos) se convertirá en dicha función de distribución el mismo tiempo en el máximo común divisor, en el mínimo común múltiplo y en la desviación a la media. En cambio, los números 3600 y 3744, son los valores más extremos en la ciudad.
La función de distribución se usa en la estadística y en la probabilística, lo que hace pensar si existirá una cuenta mesoamericana que sea múltiplo de los 2920 (8 años terrestres), se trataría pues de la franja de tiempo en la que existe la mayor probabilidad de que un evento suceda. La correlación de fechas mayas y cristianas de Héctor Calderón, propone de hecho una cuenta de años basado en el triple de los 2920 días.
Dicha función la he reconstruido utilizando las propiedades (ecuaciones) necesarias para obtener los resultados deseados:
-1º propiedad: Igualdad de las desviaciones totales de cada pirámide a las desviaciones totales de una de las dimensiones.
-2º propiedad: Igualdad de la distancia de la pirámide de la luna al extremo oeste de la ciudad con la distancia del templo de Quetzalcoatl al extremo este de la ciudad.
-3º propiedad: Diferencia entre los dos pares de valores extremos 3744-3600=144
-4º propiedad: Amplitud de la ciudad en 2448 hunabs (pues 2448*3=3744+3600)
(la quinta propiedad se refiere al segundo paso)
Todas estas propiedades se cumplen en el primer paso, reflejando de ese modo, que los valores que pretendían obtener eran 3600 y 3744. En el segundo paso y en el tercero, se va modificando un poco la distribución por lo que ni los valores obtenidos son 3600 y 3744 sino que solo nos acercamos a ellos, ni las otras propiedades se cumplen por lo que solo nos acercamos a ellas.
Segundo paso: en este paso, siguen manifestando la importancia de los 2920 días (8*365=5*584), el motivo de que en el resultado final no se obtenga 3600 y 3744 fue para conseguir reflejar las relaciones 365*3600=584*2250 y 365*3744=584*2340. La obtención de pares iguales de valores no sucede solo en una amplitud de 2448hunabs también sucede en precisamente las amplitudes 2250 y 2340. El problema se da en la amplitud de 2340hunabs; si en la amplitud del primer paso se obtuvieran los pares de valores iguales 3600 y 3744, en la amplitud de 2340hunabs no se darían dos pares de valores iguales. En cambio, si se obtienen 3591 y 3753 (desplazamiento de 9hunabs) en la amplitud de 2340hunabs también se obtienen dos pares de valores iguales (3591 y 3429)
Este es el paso donde ya quedan fijados los ejes de la ciudad. ¿Qué significan los ejes? Si os hablé en el primer paso de función de distribución a partir de tres puntos, ahora, al hablar de los ejes, os hablo de dos líneas de regresión (instrumento de estadística donde la suma de distancias de todos los puntos a un lado de dichas líneas es igual a la suma de distancias de todos los puntos al otro lado) donde los valores, por lo tanto, son cero. Como veréis, dichos ejes encajan perfectamente en la estructura de la ciudad, de hecho, desviarán el río de san Juan a partir de los mismos.
Una vez determinados los ejes, ahora, en lugar de hablar de valores, puedo hablar de coordenadas, pronto comprobaréis que las coordenadas de la pirámide de la luna y las coordenadas de la calzada de los muertos (prolongación de la pirámide de la luna) son proporcionales. Dicha propiedad será la quinta que dejé para este paso, donde se despejan las variables y por lo tanto sabemos ya como se tendría que trazar la ciudad.
Tercer paso: En este paso también hay un desplazamiento de las construcciones, pero no de los ejes, pues ya tenemos los valores extremos que queremos conseguir. Para desplazar las construcciones sin desplazar los ejes (líneas de regresión), el desplazamiento de las construcciones a un lado del eje deben ser de igual cantidad pero sentido contrario al desplazamiento de las construcciones al otro lado del eje.
En este caso, ¿a que se debe el desplazamiento? El propósito es conseguir dos nuevas propiedades en la ciudad: - que las coordenadas del templo de Quetzalcoatl sean proporcionales, y que la línea que une la pirámide del sol con la pirámide de la luna sea paralela la línea que une el templo de Quetzalcoatl con el río de san Juan (por lo que también nos ayudaremos con el posicionamiento del río que no influye en la función de distribución)
Estos son los tres pasos que debéis de tener claros para saber porqué conforme avanzo en mi estudio cambio dos veces las coordenadas de las pirámides. El estudio no se basa solo en dichos pasos, sino que mientras hay teorías que se originan a partir de ellos, otras son independientes. Además añado el mito de los cinco soles, que como veréis, es una traducción a poesía de mi visión sobre la distribución de la ciudad.
TEOTIHUACAN
INTRODUCCIÓN
Todas las medidas están obtenidas a partir de la unidad métrica de 1,059463=1hunab que descubrió Hugh Harleston en los años 70, los mapas fueron facilitados por Jesús Alberto Ferral Novoa que ha llevado estos 30 años la defensa de dicha unidad métrica, que no es poco tiempo y el que ha ido presentando a los que ahora formamos parte de un grupo de investigación centrada en esta ciudad, José Martín Pineda Perez y otros.
En este estudio se muestra una forma distinta de construir, el ser humano ha construido por motivos productivos, artísticos, religiosos y de vivienda. En esta ciudad veréis que no es tan nueva la construcción por motivos científicos, basados en ciencias como la astronomía y las matemáticas.
Antes de nada, tenéis que conocer la astronomía maya. Hay un ciclo de 260 días que es el calendario sagrado y posiblemente el mas antiguo de América; de 780 días que es el triple del anterior y el ciclo sinódico (posición relativa respecto de la Tierra) de Marte; de 365 días que es el haab (el año solar terrestre); de 584 días que es el ciclo sinódico de Venus, de 360 días que es el tun (año próximo al año terrestre de donde se origina la cuenta de 360 grados de un circunferencia) y de 225 días que es el año solar venusino (que rechazan algunos expertos, aunque aquí hablaremos de propiedades que prueban el uso de esa cuenta de días). Por ultimo, también está el ciclo de 378 días que es el ciclo sinódico de saturno.
He descubierto un sistema que se basa en la distancias de las pirámides entre ellas y en las distancias de estas a los extremos, en ellas aparecen estos ciclos y posiblemente se trate de una función de distribución pues siempre los valores se dan a pares y por tanto tenemos una media y una desviación a la media. La función de distribución se utiliza en la estadística y la probabilidad. Cuando escuchéis hablar de las profecías mayas, preguntaos si se tratan de creencias supersticiosas o están basadas en la estadística y en el manejo de probabilidades.
Continuando con las “profecías” mayas. ¿Si en ellas se apuntan a que ocurrirían en ciertos “años” algún evento concreto, no se tratará de que esas cuentas o años no son sino desviaciones de la media, es decir, el margen de tiempo en el que se encuentra la mayor probabilidad de que dicho evento suceda?
De todos estos temas se podría hablar dada las propiedades de este sistema en Teotihuacan. Sin más demora continuaré con las medidas de la ciudad separándolas en segmentos que se cortan en cada una de las tres pirámides de este complejo arquitectónico.
Medidas Norte Sur
-Ancho 2268 El ancho físico de la ciudad (378*6)
La medida real es 207+1125+720+216
La medida corregida es 207+1125+729+207
En la medida corregida se igualan los dos segmentos externos. Las medidas reales se obtienen del ancho 18+2250
En este caso los segmentos no solo están separados por las pirámides sino por muros estratégicamente colocados. Dentro del mismo encontramos 18+……378+378+378+180+720+216 378+378+378
La suma de distancias al Sur es 378+756+1134=2268 180+720+216
La suma de distancias al Norte es 216+936+1116=2268
La pirámide de la luna se encuentra en esos 720 de la pirámide del sol, y el templo de Quetzalcoatl divide el segmento de 378 más alejado, justo por la mitad (189+189)
-Ancho 2448
La medida real seria 207+1125+720+216+180
Es decir 207+1125+720+396
La medida corregida seria 207+1125+729+207+180
Es decir 207+1125+729+387
Para explicar esto tenemos que volver de nuevo al ancho 18+2250(+180)
Encontramos 18+378+378+378+180+720+216(+180)
Y eso es 396+378+378+180+720+396.
Volvamos a la primera distribución del ancho y sumemos las tres distancias a los extremos.
Para la medida real 207+1125+720+396 obtenemos: 207+1332+2052=3591 396+1116+2241=3753
Para la medida corregida 207+1125+729+387 obtenemos: 207+1332+2061=3600 387+1116+2241=3744
Ancho 2340
Para la medida real 207+1125+720+288
La suma de distancias es: 207+1332+2052=3591 288+1008+2133=3429
Para la medida corregida 207+1125+729+279
La suma de distancias es: 216+1332+2052=3600 279+1008+2133=3420
Medidas Este Oeste
-Ancho 585 (99+288+198) el ancho físico de la ciudad
La medida real es 99+63+225+198
La medida corregida es 99+72+216+198
Los extremos, que son la torreta central de la ciudadela y la columna central de la plaza de las tres columnas, son los que (al igual que las medidas reales norte sur se definían en el ancho 2268) definen en ese ancho de 585 (Venus) las medidas reales este oeste.
En mi primer estudio pensaba que en los extremos se obtenían los valores 225 y 360, pero cuando calculé lo que yo llamo los “puntos de compás” los valores resultantes fueron 216 y 369. Apartado que cuando lo leáis, os hará pensar si se debe a que iniciaron la ciudadela a 36hunabs del centro de la calzada (es decir, a la misma altura que la sección estrecha de la calzada); o si se debe a que el punto de compás que le corresponde a la torreta central de la ciudadela mide 648hunabs
La suma (real) de distancias de 99+63+225+198
99+162+387=648=216+216+216 (torreta central de la ciudadela)
198+423+486=1107=369+369+369 (columna central de la plaza de las columnas)
Ancho 2448 (1080+288+1080)
La medida real es 1080+63+225+1080
La medida corregida es 1080+72+216+1080
La suma (real) de distancias de 1080+63+225+1080
1080+1143+1368=3591
1080+1305+1368=3753 (lo mismo que en el Norte Sur)
La suma (corregida) de distancias de 1080+72+216+1080
1080+1152+1368=3600
1080+1296+1368=3744 (lo mismo que en el Norte Sur)
Ancho 2340 (1026+288+1026)
La medida real es 1026+63+225+1026
La medida corregida es 1026+72+216+1026
La suma (real) de distancias de 1026+63+225+1026
1026+1089+1314=3429
1026+1251+1314=3591 (lo mismo que en el Norte Sur)
La suma (corregida) de distancias de 1026+72+216+1026
1026+1098+1314=3438
1026+1242+1314=3582 ¡¡¡¡¡¡no es lo mismo que en el Norte Sur!!!!!!
Altura (niveles oceánicos) de las pirámides
Observamos por tanto que las mayores dimensiones son 2448*2448 para que se de la simetría en los cuatro puntos cardinales, analicemos las alturas de las pirámides.
La pirámide del sol tiene su base a 2160 sobre el nivel del mar y mide 63
La pirámide de la luna tiene su base a 2181 sobre el nivel del mar y mide 42
La pirámide de Venus tiene su base a 2151 sobre el nivel del mar y mide 21
Por tanto las cumbres de las dos primeras (sol y luna) están a la misma altura (2223)
Y si la base de la tercera (Venus) estuviera 9 mas arriba, a la misma altura de la primera (sol 2160) entonces su cumbre tocaría la base de la segunda (Luna 2181) y por tanto SOL seria igual a VENUS+LUNA (2160---2223).
Al igual que la pirámide del Sol se desplazaba 9 hunabs en el este oeste y la pirámide de la Luna se desplazaba 9 hunabs en el norte sur, al templo de Quetzalcoatl se desplaza 9 hunabs en el suelo cielo. (Ya podemos intuir donde gobierna cada pirámide)
-La medida 2160+288=2448
Calculemos distancias para la medida real
El punto central de las pirámides es 21/2=10,5 42/2=21 63/2=31,5
Los niveles oceánicos por tanto 2161,5 2202 2191,5
Las distribución de esos 288 por tanto 1,5+30+10,5+246
Y la suma de distancias seria 1,5+31,5+42=75 246+256,5+286,5=789
Calculemos ahora para la medida corregida
Los niveles oceánicos serian 2170,5 2202 2191,5
La distribución seria 10,5+21+10,5+246
Y la suma de distancias seria
10,5+31.5+42=84 (84 es uacan) 246+256,5+277,5=780=260+260+260
Para la medida real las alturas proporcionales para que dieran 84 y 780 serian 12 24 36 pero esas alturas en las construcciones de las pirámides no dicen nada
En cambio 12-3=9 24-3=21 36-3=33 sí, y vuelve a salir 84-3-3-3=75 y 780+3+3+3=789
Y por tanto para la medida corregida vuelve a salir 84 y 780
Los 9 de Venus están marcados porque es cuando empieza la base de la pirámide del sol
Los 21 de Luna están marcados porque es el punto central de dicha pirámide.
Los 33 de Sol están marcados porque a dicha altura se produce un corte en el ángulo que dicha pirámide tiene.
La base de la pirámide es de 216 por lado y 864 de perímetro y tiene 6 niveles que son
|
Lado |
Perímetro |
Altura |
Altura acumulada |
|
|---|---|---|---|---|
|
NIVEL 1 |
216 |
864 |
18 |
18 |
|
NIVEL 2 NIVEL 3 |
162 108 |
648 432 |
¿15/18? 12 |
¿33/36? 45 |
|
NIVEL 4 |
72 |
288 |
6 |
51 |
|
NIVEL 5 |
54 |
216 |
9 |
60 |
|
NIVEL 6 |
27 |
108 |
3 |
63 |
|
TECHO |
18 |
72 |
¿6? |
¿72? |
Si no os habéis dado cuenta, todas las medidas que llevamos son múltiplos de 9. Y con la pirámide del sol no es distinto. Si calculáis su inclinación veréis que el lado disminuye 3hunabs cada 1hunab de altura y que las alturas son todas múltiplos de 3. (3*3=9). O bien, 12hunabs de perímetro (12*3=36).
Pero hay una excepción… 162-108=54/3=18 y el segundo nivel no mide 18 sino 15. Ahí esta el corte del ángulo de la pirámide, la altura 33 marcada. Ahora bien, si midiera 18hunabs la altura acumulada seria 36 (recordad que necesitábamos usar la altura 36en la pirámide del sol para obtener los 780 y 84)
Resulta que 864/12=216/3=72 la pirámide del sol debería medir 72hunabs de altura y por tanto la altura 36sería su punto central (Por eso subrayé punto central en la anterior página).
¿Qué conclusión podemos sacar? Cuando nos basamos en los puntos centrales de tres pirámides de 21 42 y 63 de altura, el sistema nos da 789 y 75 es decir una desviación de 9hunabs. Pero si las pirámides midieran 24 48 y 72, al basarnos en los puntos centrales 12 24 36 obtenemos los 780 y 84.
Sin embargo la altura ideal de las pirámides no son 24 48 y 72; dadas las bases de cada pirámide la altura. De la pirámide del sol si es 72, pero en cambio la pirámide de la luna es 51, pues según Jesús Alberto Ferral Novoa su base es de 162*144. El perímetro por tanto es 612 que dividido entre 12 es 51. Entonces tenemos que al igual que las pirámides del sol y luna coincidían sus cumbres en la altura 2223, sus alturas ideales también coinciden 72=21+51.
Aquí me debo de detener para hablaros de las áreas y volúmenes de estas dos pirámides que yo llamo “las gemelas”:
Base volumen
pirámide del sol 216*216 216*216*63/3
pirámide de la luna 162*144 162*144*42/3
Proporción 1:2 1:3
Tenemos por un lado que las áreas y por tanto los volúmenes, de las gemelas son proporcionales y por otro que las cumbres llegan a la misma altura y por tanto que los perímetros son iguales a la misma altura. ¿Esto es casual o se puede calcular?
Para calcularlo partimos de que, cómo el perímetro de la base de la pirámide de la luna es 612, la suma de los dos lados distintos es 306. Además partimos de que el área de dicha pirámide es la mitad del de la pirámide del sol (216*216/2).
x+y=306; x*y=216*216/2; �
y=306-x � x*(306-x)=216*216/2 �
x*x-306x-216*216/2=0 �
x= (306+/-18)/2 es decir 144 y 162
¿Acaso los teotihuacanos sabían obtener las raíces de polinomios de segundo grado?
Volviendo a las alturas de las tres pirámides; si la pirámide del sol es 9 hunabs mayor en su altura ideal y la pirámide de la luna también es 9 hunabs mayor en su altura ideal, el templo de Quetzalcoatl debería permanecer igual, para que los valores del cielo y el suelo fueran 780 y 84 respectivamente.
Pero no es así, la base del templo es de 60 de lado, por lo que su área es 3600 (exactamente el mismo valor que los dos extremos de la ciudad en la esquina del templo) y por lo que su perímetro es 240. 240/12=20, por lo que el templo tiene una altura ideal de 20 hunabs (uno menos de los 21). El templo de Quetzalcoatl es la pirámide del 20 como más adelante comprobareis.
¿Cómo resolvieron este problema los arquitectos? La clave esta en la pirámide de la luna con sus dos partes diferenciadas. Las pendientes de esta pirámide son distintas unas de otras, de tal modo que podemos proyectar 3 y 3 líneas de dichas pendientes y obtener así las cumbres ideales de sus dos partes.
Curiosamente la más alta no está a 51 sino a 52. Ya tenemos de nuevo los valores 780 y 84. Todo esto sería más fácil si la pirámide de la luna midiera en lugar de 162*144, 169*144 (igual que 156*156), entonces su altura ideal coincidiría con sus pendientes, y recuerdo la importancia que le daba Jesús Alberto a los 13 bloques de la pirámide de la luna. Ciertamente es la pirámide del 13 en la ciudad.
Aclaraciones sobre las medidas del 2448*2448*2448
La suma de distancias para la medida corregida 2448 en los puntos cardinales es 3600 y 3744 Números que multiplicados por 365 son 1314000 (múltiplo de 584 365 360 y 225) y 1366560 (múltiplo de 584 365 360 y 260) dos ciclos muy importantes, ya hemos visto que no es la única en la que se da la suma de distancias, también sucede con 2250 y 2340 Números que multiplicados por 584 son 1314000 y 1366560. Y hay esta el motivo de la corrección, la medida corregida era la original pero necesitaron después la medida real para obtener el 2340 (con el 2250 no hubo problemas pues esta dentro de la zona física de la ciudad).
De igual modo que corrigieron los puntos cardinales también corrigieron las alturas en la misma cuantía, y así mantener esa simetría en todas las dimensiones, la dimensión de la altura es una dimensión especial como sucede con el templo de Quetzalcoatl. Como la distancia de las gemelas está aumentada 9 hunabs en sus respectivas dimensiones, con que se aumenten 9 hunabs las alturas de dichas pirámides, se mantiene la simetría.
Pero ese no es el único modo de hacerlo, ya sabéis que mientras la pirámide del sol domina la dimensión este oeste, la pirámide de la luna domina la dimensión norte sur. Es lógico pensar que el templo de Quetzalcoatl domina sobre la vertical (el suelo y el cielo) sobretodo teniendo en cuenta que, si elevamos dicha pirámide 9 hunabs, tenemos las dos moles sol=luna+Quetzalcoatl.
El ancho 585 y el largo 2268, son los físicos de la ciudad y los que emplearon para marcar los puntos (tanto para las medidas reales como corregidas) en los que operar las sumas de distancias a los extremos.
EL SISTEMA DE LA SUMA DE TRES DISTANCIAS A LOS EXTREMOS
En dicho sistema podemos hablar de dos factores, la proporción entre Venus y la tierra, y las desviaciones respecto a la media.
La proporción Venus Tierra
La proporción entre 584 y 365 es 0,625 (aquí encontramos una del uso de la cuenta de 225 días 584*225=360*365 365/584=225/360) proporción que es muy parecida a la proporción de lo que mide la ciudad de un extremo a otro y lo que suma tres distancias a los extremos 0,66666666666 (curiosamente 0,6666666666*0.625=0,416666666666 y 0,66666666-0.625=0,0416666666). El mínimo común múltiplo de 584 y 365 es 2920 días, es decir 8 años o 5 ciclos sinódicos de Venus.
Ahora en vez de hablar de mínimo común múltiplo hablemos del máximo común divisor, todas las medidas que hemos estudiado son múltiplos de 9, por lo tanto, 2920*9 26280 días, este es la mitad del máximo común divisor de 1314000 y 1366560, y son 72 haabs 73 tunes o 45 ciclos sinódicos de Venus. (No aparece el 225 y el 260 porque esos ciclos son los que diferencian 1314000 de 1366560)
Por tanto MCM de 9 365 y 584 casi es el MCD de 1366560 y 1314000, es decir los 72 haabs. Pero hemos de recordar que los valores se obtienen de una suma triple, entonces los 72 haabs se convierten en 24haabs, con los que Hector M. Calderon en los años 80 desarrollo se correlación de fechas mayas/cristianas. Además deberíamos recordar que la altura de las pirámides tendría que ser 24 por uno por dos y por tres y no 21 por uno por dos y por tres. Esto puede ser una prueba de esa cuenta corta pues su hijo Sergio Calderon intuye que la reforma calendárica en la que añadieron la cuenta corta fue coetánea a una emigración y fusión de los mayas con los teotihuacanos y todos los pobladores del Yucatán.
Bueno para no liarnos mucho sigamos con la suma total y no la media para cada pirámide. La media entre los valores 1314000 y 1366560, es 1340280, y por lo tanto la desviación con respecto a la media son, 26280 los 72haabs (ahora al añadir el valor medio si nos sale 26280 como MCD. ¿Los 72 (o 24) son el MCM el MCD y también la desviación de la media? Es el momento para abrir otra línea de investigación, las desviaciones de las distancias de la distancia media.
Las desviaciones a la media
Media de las distancia para 2448
1224
Distribución de las pirámides 1080+72+216+1080 (este oeste) 207+1125+729+387 (norte sur)
Distancias superiores a 1224 1368 1296 1368 (este oeste) 2241 1332 2061 (norte sur)
Distancias inferiores a 1224 1080 1152 1080 (este oeste) 207 1116 387 (norte sur)
Desviación a 1224 la media 144 72 144 (este oeste) 1017 108 837 (norte sur)
SUMA E-O SUMA N-S SUMA TOTAL
360 1962 2322
Desviaciones para la pirámide del sol
N108 S108 E72 O72 TOTAL 360
Desviaciones para la pirámide de Venus
N1017 S1017 E144 N144 TOTAL 2322
Desviaciones para la pirámide de la luna
N837 S837 E144 N144 TOTAL 1962
-Conclusiones:
Desviación del sol � ½ desviación E-O (la dimensión en que domina)
Desviación de la luna �1/2 desviación N-S (la dimensión en que domina)
Desviación de Venus � ½ desviación TOTAL
Podemos observar que las desviaciones a las respectivas medias siguen de nuevo siendo simétricas. En el tiempo que llevo estudiando el mundo maya me he dado cuenta muchas veces que cuando se trata de “profetizar” le daban especial importancia a la simetría matemática.
En el sistema de Teotihuacan encontramos simetría, media y desviaciones, incluso simetría en las mismas desviaciones a la media, por lo que la hipótesis de que una cuenta de 24 años de 365 días sea una desviación a la media (o un múltiplo o un divisor de esta) de una función de distribución astronómica, crece con mucha fuerza.
Ahora habría que medir las distancias del resto de construcciones importantes de Teotihuacan a los extremos, para conocer si son estadísticas y predicciones relacionadas con eventos astronómicos o si son estadísticas y predicciones relacionadas con aspectos humanos. Posiblemente esa es la mayor diferencia entre las predicciones astronómicas y las astrológicas.
MIDIENDO EL INTERIOR DE LA CIUDAD
Me he encontrado con tres aspectos muy importantes en este segundo paso de mi estudio: Los ejes de la ciudad, las dos paralelas dirección norte y el valor del río de san Juan. Tres aspectos que están relacionados los unos con los otros como pronto veréis.
Los ejes de la ciudad
Tengo la sensación de que en mi estudio he ido de lo más complejo a lo más simple, hasta que no lo comprobé en la práctica, no caí en la cuenta de que si existen extremos cuyo valor se calcula sumando las distancias de dichos extremos a las tres pirámides, también existen ejes cuyo valor seria cero; es decir, la suma de las distancias de las dos pirámides (que quedan a un lado de un eje) a dicho eje es igual a la distancia de la pirámide que queda al otro lado, si la ciudad fuera un función de distribución, los ejes serían dos líneas de regresión.
El cálculo de los ejes se realiza con los valores reales es decir 1125 y 720 para el norte sur y 63 y 225 para el este oeste, de esta forma podemos compararlos con el resto de construcciones que se sitúan en la ciudad.
El eje este-oeste
No fue pequeño mi asombro cuando me di cuenta que en la dimensión este oeste dicho eje valor cero corta la cara frontal de la pirámide del sol (que por tercera vez os digo que domina en dicha dimensión) justo por la mitad. Lado/4 =216/4=54 (225-63)/3=54. Cuando trace el eje en una foto vía satélite observe que pasaba por el segundo pasillo frontal de dicha pirámide. No se si recordaréis que dicho pasillo me di cuenta que representaba la altura central de la pirámide del sol.
Si miráis las fotos veréis que dicho pasillo es más grande que el resto, sean de su misma cara o no, si remiráis las fotos de la pirámide del sol, observareis que se debe a que la pirámide esta achatada hacia atrás. Pero, una vez que ya habéis leído todo lo anterior os debo revelar que la cumbre de la pirámide del sol no se encuentra a 225 al oeste de la pirámide de la luna, sino a 231 o 232.

El eje norte-sur
Tampoco fue pequeño mi asombro cuando observe que en la dimensión norte sur, que es dominada por la pirámide de la luna, el eje corta la calzada de los muertos (prolongación de la pirámide de la luna) en sus zonas, amurallada y sin amurallar. El modo de calcularlo es el mismo, (1125-720)/3, es decir, a 135 hunabs de la pirámide del sol.
Si miráis el mapa de distancias que trazó Harleston, encontraréis cierta simetría y comprenderéis ciertas cosas que no entenderíais de no haber pintado yo el eje con la línea roja. Los muros de dicha calzada no podrían ser otros, como os voy a explicar a continuación. Os voy a describir las divisiones para que observéis la simetría, subrayando donde se encuentra el eje:
324+108+135+90+121.5+90+121.5+135+108+324
(324) aquí nos situamos a la altura del río de San Juan, en el otro extremo tenemos la cara norte de la pirámide del sol
(324+108) Es el primer muro de la calzada, en el otro extremo no encontraríamos con el centro de la pirámide del sol, que se empleaba no solo para trazar los ejes sino para la distribución de los 2250 que en sus dos partes sumaban 2268
(324+108+135) O dicho de otro modo 189+378, es decir, uno de los muros que se empleaban en la distribución de los 2250, en el otro extremo tenemos el eje de la ciudad (324+108+135+90) O dicho de otro modo 324+333, es decir, este muro vale justo la mitad que el río de san Juan, que se encuentra a 108+135+90+121.5+90+121.5=666.
(324+108+135+90+121.5) Este muro marca el punto central de todo el segmento que os he descrito.
Por qué a continuación sigue 90 y no otra vez 121.5, lo que rompe la simetría? Quizás solo sea para no repetir dos veces la misma distancia, pero también puede ser una clave más para algún otro aspecto de la ciudad.
El valor del río de san Juan
Mayor fue mi asombro cuando me di cuenta que cada brazo del río de San Juan (los riñones de Teotihuacan según Jose Martin Pineda) en su forma de ‘u’ era equidistante del eje paralelo a dicho brazo, por lo que todo el río tiene el mismo valor a lo largo de su recorrido (cuando miréis el mapa podréis matizar que tiene 2 valores) El valor medio es 648*3 siendo los 2 valores 3*666=1998 y 3*630=1890
A qué se debe esta coincidencia? A que no es un hecho casual, se sabe que el río fue desviado artificialmente por los teotihuacanos para encapsular al templo de Quetzalcoatl. El paso por el río simboliza la frontera entre los dos mundos. Ya sabéis que las gemelas gobiernan sobre los 4 puntos cardinales, el templo de Quetzalcoatl gobierna en el centro de la tierra y en el cielo, los bolomtiku y los oslahuntiku.
El rio en esa U cubre una superficie de 324*1296, fijaros como en el brazo 666 baja 324hunabs, justo a la mitad del templo, y en el brazo 630 no llega a este porque baja 316hunabs. 324*1296 sería 648*648 de nuevo la cuadratura, pero esta vez en vez de en 2*2 en 1*4. Si hacéis los cálculos la altura media de este trapecio es (324+316)/2=320 y la diferencia de áreas entre 1296*324 y 1296*320 es 72*72=5184=144*36.
Ese es el motivo de que el paso de 630 a 666 se de a 144hunabs del centro de la “u” (a 162 del eje) ¿Por qué se desdobló como si fuera el dios Xolotl, gemelo de Quetzalcoatl?
630 es el sumatorio de los primeros 35 números
666 es el sumatorio de los primeros 36 números
946 es el sumatorio de los primeros 43 números
990 es el sumatorio de los primeros 44 números
Los “ejes” de la ciudad
Los responsables de zona del INAH repiten diariamente que las avenidas este oeste y la calzada de los muertos son los ejes de Teotihuacan. Yo he descubierto los verdaderos y tengo evidencias de sobra de ello como vais comprobando. Las avenidas este y oeste tienen de función hacer de ribera al río para que este contenga en su interior los 648 hunabs cuadrados y por ello (al tener el río dos valores) estas no están a la misma altura. Ya os he dicho que la calzada de los muertos (a 171 del eje) no es sino la prolongación de la pirámide de la luna.
Dicha pirámide está a 171 de un eje y 171*5 del otro. Desde la pirámide al otro “extremo” de la ciudad (207+1125+720) hay 171*12 hunabs, esto es lo que mide la calzada propiamente dicha. ¿Dónde iban a colocar la calzada mejor que a partir de la pirámide de la luna?
Las dos paralelas
También me di cuenta que la línea que unía el templo con el río en su punto central era aparentemente paralela a la línea que unían las gemelas (pero no son paralelas). La afirmación de que estas dos líneas eran lo más importante para los teotihuacanos, no solamente se fundamenta en las distancias sino en el mismo mito de los cinco soles cuando hace referencia a Teotihuacan. Gracias a este estudio y por formar parte de un grupo de investigación teotihuacano, he desvelado algunas claves de dicho mito, en mi segunda lectura del mismo.
Por ejemplo, el montante de 2628 años (el sumatorio de los primeros 72 números) que se mencionan en la mayoría de los textos que se conservan acerca de los cinco soles (aunque en distinto orden, lo que me hace preguntarme si el orden era también importante o solo el total) se obtiene a partir de estas dos líneas. Aquí observamos una razón por la que unir con una línea dos pirámides y unir con otra la tercera pirámide y uno de los ejes (que ya sabemos cómo se calculan): De este modo se consigue que los puntos centrales de cada línea sean equidistantes a dicho eje.
Las coordenadas de dichos puntos son (+495, +55 o +55.5) y (-819, -55 o -55.5). En efecto, las coordenadas de la línea entre las dos pirámides es la mitad de las coordenadas de la tercera pirámide (-990, -110 o -111). Que también se debe al método de cálculo de los ejes. Todos los valores se doblan si en lugar de coger un punto central cogemos los dos extremos (de las líneas). 1314*2=2628
La línea que une pirámide del sol y luna es de 756 (catetos 231 y 720). Pero mucho más interesante es la línea que une río (648) con templo, mide 360 (catetos 342 y 111) y forma un ángulo de 18, es decir corta una veinteava parte de circunferencia (recordad que el templo es decir 3600 y 20). Así que pasando la pirámide del sol de 225 a 231 y el templo de 288 a 282 (y así no desplazar el eje) mataron dos pájaros de un tiro.
Si os parece que la precisión no es suficiente, os voy a hablar de precisión. A continuación apunto las dos posibles coordenadas de las tres mayores pirámides (a partir de las que se calculan los ejes) de una diferencia de solo un hunab. Precisamente en el paso de una a otra coordenada es donde estas líneas se hacen paralelas.
(+855,+171) (+135,-61) (-990,-110)
De la pirámide de la luna, la pirámide del sol y el templo de Quetzalcoatl respectivamente. Los valores positivos son los que se dirigen a los extremos 3744 de la ciudad y los valores negativos los que se dirigen a los extremos 3600.
En este caso no solo las coordenadas de la pirámide de la luna son uno y cinco segmentos de 171, sino que las coordenadas del templo de Quetzalcoatl son uno y nueve segmentos de 110. Aquí debo señalar que el templo de Quetzalcoatl tiene 180 figuras de Tlaloc (dios de la lluvia) intercaladas en 184 o186 figuras de una serpiente o cocodrilo saliendo de una flor de 11 petalos. Según estas coordenadas, la diferencia entre las inclinaciones de las paralelas se materializa en un hunab exacto al este oeste cada 10*171 (unidad de la luna y calzada) al norte sur.

(+855,+171) (+135,-60) (-990,-111)
En esta segunda posibilidad, cabe mencionar la altura de las gemelas, las pirámides del sol y la luna, que es 2223. Ya os he dicho que la pirámide de la luna es la pirámide del 13. Precisamente 2223/13=171 (el mcd de las medidas luna y calzada)
El templo de Quetzalcoatl es en cambio la pirámide del 20, y 2223/13=111,15; si tomamos este valor como uno de los catetos del triangulo eje, río y templo, como el otro es 342, tenemos una proporción de 13/40=0,325, que sería muy fácil de creer que fuese el método de aproximación a la veinteava parte de la circunferencia (18,004), una aproximación realmente buena, basada en los sistemas de numeración mesoamericana de 20 en 20 y de 13 en 13.
Además si recordáis la posición estadística del templo es 117 del eje (2223/117=19), y el segmento del río donde llega la línea templo río esta a 360. 117/360 es la misma proporción y por tanto el mismo ángulo. No tan evidente es una tercera línea que va desde la ciudadela hasta la plaza de las columnas (de la que hablaré en los puntos de compás) pues el triángulo formado seria de catetos 2223/5.1 y 2223/5.1/0.325 (5,1 no es un número entero como 13 20 y 19).
Mucho menos evidente es que existe una suma triple de distancias en el segmento real de la ciudad 2268 de resultado 2223, valiéndonos de la construcción más importante de los puntos de compás (el observatorio del grupo viking), pero también del eje (y el eje, aun estando marcado, representa en verdad ya tres puntos y no solo uno)
ANEXO
Fórmulas que quizás emplearon los arquitectos
Este anexo es para aquella gente que suele ser escéptica con las nuevas teorías, el sentido por el que yo he ido hacia atrás, del resultado a la forma de obtenerlo, es diferenciar, de entre todas las propiedades que aparecen en este trabajo, cuales han sido intencionadas y cuales podrían ser simple coincidencia. Cada propiedad la transformaré en una ecuación y la añadiré en un sistema de ecuaciones. Si al final quedan varias variables sin despejar quiere decir que los arquitectos pudieron elegir entre varias opciones y por tanto que las propiedades son todas intencionadas.
Os voy a poner las dimensiones de la ciudad por si queréis comprobar las fórmulas que voy construyendo.
1080+216+72+1080 207+1125+729+387
E + F + G + H A + B +C + D
-La desviación a la distancia media (DM) de cada pirámide.
Pirámide del sol F�G B�C.
Pirámide de la luna E�F C�D.
Pirámide de Venus G�H A�B.
Pirámide del sol Pirámide de la luna Pirámide de Venus
DM(F�G)=(F-G+E-H)/2 DM(E�F)=(F+G+H-E)/2 DM(G�H)=(E+F+G-H)/2
DM(B�C)=(B-C+A-D)/2 DM(C�D)=(A+B+C-D)/2 DM(A�B)=(B+C+D-A)/2
-Propiedad 1ª: Igualdad en las desviaciones.
La desviación de la pirámide del sol es la mitad que la del este-oeste (E+F+G+H)
((F-G+E-H)/2+(B-C+A-D)/2)*2=(F-G+E-H)/2+(F+G+H-E)/2+(E+F+G-H)/2
2B-2C+2A-2D+E-F-3G-H=0
La desviación de la pirámide de la luna es la mitad que la del norte-sur (A+B+C+D)
((F+G+H-E)/2+(A+B+C-D)/2)*2=(B-C+A-D)/2+(A+B+C-D)/2+(B+C+D-A)/2
A-B+C-D+2F+2G+2H-2E=0
La desviación de la pirámide de Venus es la mitad de la total (A+B+C+D+E+F+G+H)
(Dicha propiedad es consecuencia de las otras dos por lo que no añade nada al sistema)
SISTEMA DE ECUACIONES 2B-2C+2A-2D+E-H-F-3G=0
A-B+C-D+2F+2G+2H-2E=0
-Propiedad 2ª: Igualdad de las distancias E y H
Esta propiedad es muy importante pues es la base para encontrar 2340
Y 2448 (o cualquier otro par de números que hubieran creído convenientes)
SISTEMA DE ECUACIONES 2B-2C+2A-2D-F-3G=0
(Se despejan E y H) A-B+C-D+2F+2G=0
-Propiedad 3ª y 4ª:
La propiedad 3ª y 4ª son las que necesitaron los arquitectos para obtener los números 1366560 y 1314000.
-Propiedad 3ª: La desviación en la suma de tres distancias 72 (72*365=26280)
(3D-3A+C-B)/2=72 (C=144-3D+3A+B)
(3E-3H+F-G)/2=72 (F=144+G)
SISTEMA DE ECUACIONES 4A-4D+4G+432=0
(Se despeja F y C y B) -4A+4D-4G-432=0
-Propiedad 4ª: Distancia media de cada pirámide a cada extremo 1224
(A+B+C+D)/2=1224 (E+G=1152)
(E+F+G+H)/2=1224 (2A+B-D=1152)
SISTEMA DE ECUACIONES (el sistema permanece con el mismo número De variables)
Hasta este momento todas las variables pueden tener varios valores por lo que estas propiedades son todas elegidas por el arquitecto de Teotihuacan.
LA QUINTA PROPIEDAD
Tanto 729 como 216 son números cúbicos 9*9*9 y 6*6*6 respectivamente. En un principio pensé que a partir de esos dos valores se despejarían todos los demás. Pero ahora caímos en la cuenta de esa proporción entre la pirámide de la luna y la calzada de los muertos, tanto en el primero como en el segundo paso de la medida real. (171, 171*5 y 171*12)
La ecuación de despeje sería como las siguientes:
(A+B+C-9)/12= F+9-(F+9-G+9)/3 (calzada/eje esteoeste)
(B-C+9)/3/5=F+9-(F+9-G+9)/3 (eje nortesur/eje esteoeste)
LOS PUNTOS DE COMPÁS
Este apartado que antes lo apuntaba como curiosidad, ahora está mucho más desarrollado para darle un apartado propio. En la calzada de los muertos y equidistantes al observatorio del grupo viking, (que Jose Martin Pineda llama ombligo de Teotihuacan); nos encontramos dos construcciones, que un arquitecto o ingeniero llamaría puntos de apoyo, aunque los puntos de apoyo generalmente se encuentran de tres en tres y no de dos en dos.
Aparte de esta equidistancia del grupo viking, hay otras dos mas, una de un punto de apoyo al la pirámide del sol y de la pirámide del sol a la plaza de las columnas, ambas de 480hunabs y otro de la pirámide del sol al otro punto de apoyo y del otro punto de apoyo a la torreta central de la ciudadela, ambas de 648 hunabs.
Curiosamente los dos lugares donde conozco que se encontró mica son la pirámide del sol y el grupo viking (en toneladas), y además se puede trazar una línea de la plaza de las columnas a la torreta central de la ciudad, la cual, pasa por el observatorio del grupo viking. No solo eso, me agrado con añadir que las líneas que unen pirámide del sol con calzada y templo de Quetzalcoatl con la calzada (prolongación de la pirámide de la luna), pasando ambas por el observatorio del grupo viking; se aproximan en la calzada a las posiciones norte sur del templo de Quetzalcoatl y de la pirámide del sol, respectivamente, como dos líneas cruzadas.
En este apartado también os puedo hablar de triangulares, la plaza de las columnas tiene las coordenadas (+351,+369), el observatorio las coordenadas (-378,+51) y la torreta central de la ciudadela (-990, -216). Es decir, en la misma dimensión, las tres construcciones son triangulares:
351 es la suma de los 26 primeros números
378 es la suma de los 27 primeros números
990 es la suma de los 44 primeros números
En la otra dimensión (de 585hunabs) podemos hablar de la ciudadela, dicha plaza de 378*378, empieza a 36hunabs del centro de la calzada, es decir, a la misma altura que el borde de la sección estrecha de la misma. Por lo tanto, la torreta central de la ciudadela está a 351 (117*3) de este inicio, y la plaza de las columnas a 234 (117*2). Y en la ciudadela nos encontramos bastantes distancias de 13 y 117hunabs.
Por último, os añado que al sumar la distancia de la pirámide de la luna a cada par de puntos de compás se obtienen 2052hunabs (171*12) y 1503hunabs (855+648), es decir, toda la longitud de la calzada, y la longitud de la calzada hasta el puente, es decir la sección estrecha.
La línea que une plaza de las columnas, observatorio del grupo viking, y torreta central de la ciudadela forma un ángulo de arctang (585/1341)=23,5 grados, lo que me hace recordar a la ciudad olmeca de La Venta que tiene de direcciones 8º oeste y 15º este, cada vez que pienso en Teotihuacan.
Además los 23,5 grados es la diferencia entre los dos ejes terrestres, lo que podíamos unir a la alineación de la pirámide del sol a la trayectoria del sol en el solsticio, precisamente cuando esa diferencia se hace más patente. Sin embargo, sin tener en cuenta la dirección de dicha línea, tendríamos las suficientes características ya para dibujar cómo se debería realizar la construcción.
CURIOSIDADES
En este apartado trataremos los temas más interesantes para los más curiosos que hayan leído este estudio.
¿Cómo trabajaría el arquitecto con los niveles oceánicos?
La respuesta más lógica es la excavación y el relleno de tierra, para conseguir las alturas deseadas. Entre la base de la pirámide mas alta a la más baja hay 30hunabs y como su distancia es 1845 y 288, tenemos un mínimo de 9.500.000metros cúbicos de tierra.
¿Qué significa incógnita de los niveles de la pirámide del sol?
Como sabéis ya, los niveles miden 18 15 12 6 9 3, esto es 3 por 6 5 4 2 3 1. Si observáis, el orden de los números esta cambiado, esta incógnita no se podía resolver con la pirámide de 63hunabs, pero ya os he dicho que debería medir 72, es decir, 18 18 12 6 9 y 9, o lo que es igual 18, 18, 12+6=18, 9+3+6=18.
La suma de los perímetros de los cuatro niveles es 864+648+432+216=2160, el nivel oceánico de la base de la pirámide, si le añadimos el perímetro del techo obtenemos, 2160+72 es decir donde debería estar la cumbre de la pirámide. Si le añadimos el perímetro del quinto nivel tenemos 2160+108=2268 la distancia entre muros de la ciudad. Si le añadimos el tercer nivel tenemos 2160+288=2448 el ancho simétrico de la ciudad.
¿Qué se nos quiere decir en la sombra angosta de la pirámide del sol en los equinoccios?
Dicha sombra dura 66,6 segundos medidos con un reloj de décimas de segundos. Esto puede tener varias respuestas. Si se tratara de 66,6 exactos podría ser el tiempo en el que la tierra gira alrededor del sol 1872000hunabs, 1872000 días es lo que dura la cuenta larga maya. Si se tratara de 66,6 periodo podría ser la 1/36/36 parte de 24 horas la formula del tiempo, en 20 días, es decir un mes maya, serían 25920 el numero de años de la precesión según Platón, yo cada vez me acerca a esta segunda posibilidad.
La leyenda del hombre de Teotihuacan
José Martín Pineda comenta que esta ciudad representa un hombre donde la pirámide de la luna es la cabeza, la pirámide del sol el corazón y la pirámide de Venus o Cuculkan/Quetzalcoatl es la ingle. Como veis, esta es una ciudad en tres dimensiones y si colocamos los valores inferiores del sistema de suma distancias a un lado y los valores superiores a otro ¿que tenemos?
Corrección Ingle Corazón Cabeza Corrección
Altura +9= 84 Venus Sol Luna -9= 780
N-S +9=3600 Venus Sol Luna -9 =3744
E-O +9=3600 Venus Sol Luna -9=3744
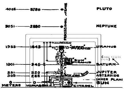
El sistema solar a escala de Hugh Harleston
Nuestro descubridor trazó una escala de las distancias de los planetas solares en el norte sur de la ciudad, dicha escala obtuvo el visto bueno de la Nasa ¿Dónde colocó la posición del Sol? En la pirámide de Venus, dicha pirámide es y se comporta de forma distinta que las otras dos que yo llamo “las gemelas” (aunque no quiero extenderme más al respecto pues lo quiero posponer para una ampliación)
El área de su base es 60*60=3600 justo el mismo valor que la suma de distancias de los dos extremos que hacen esquina con esa pirámide. Pero lo mas importante es que mi sistema se sustenta en que uno de los extremos de los 4 no se expande a favor del opuesto que lo hace el doble.
Este (se amplia una vez) Oeste (se amplia una vez)
(Sol) Sur (no se amplia) Norte (se amplia dos veces) Plutón
Pirámide de Venus pirámide del Sol pirámide de la Luna
Además situaba a saturno 180hunabs al sur de la pirámide del sol, que es precisamente la línea central de los 2250 en los que me di cuenta que ambas partes sumaban 2268, 6*378, 6 veces el ciclo sinódico de saturno.
Aquí un investigador pensaría que dicha relación es determinante, pero no se puede afirmar que lo sea con respecto a los arquitectos de Teotihuacan, quizás sea determinante pero en relación a Hugh Harleston quién trazó la escala, pues… decadas después ha cambiado el sentido de dicha escala, de la pirámide de la luna al sur en vez del templo de Quetzalcoatl al norte.
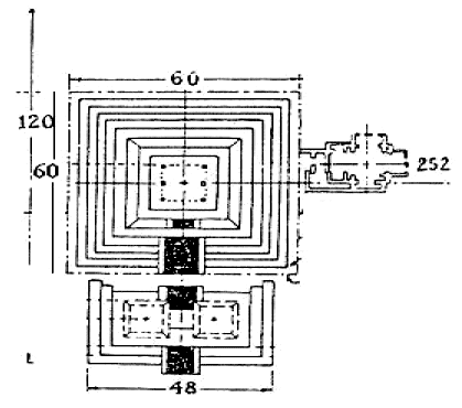
La torreta que colocaron justo delante del templo de Quetzalcoatl
Se alude a un cambio político en el que quisieron tapar dicho templo por ser reflejo de la dinastía anterior. Pero hay un hecho curioso de la ciudadela, entre las torres que la rodean se pueden trazar 20 líneas como los días del mes (10 de una longitud y 10 de otra longitud). En cada uno de los 4 lados quedarían 10 extremos de dichas líneas, observad la localización estratégica de la torreta que tapa el templo.
Además teniendo en cuenta la lógica constructiva de la ciudad, y que los valores de los extremos son dos y dos iguales, si la pirámide de la luna tiene una plataforma delante, la pirámide del sol o el templo de Quetzalcoatl debería tener una plataforma de iguales dimensiones para mantener la correspondencia entre las dimensiones. Ya sabéis que además de la altura, el templo es la pirámide del 20 por esas líneas.
Sin embargo sus dimensiones son desconcertantes, tiene una base de 30*48, luego según la proporción 1:3 que yo os he expuesto, su altura ideal es 13. Se podría pensar que así representan el calendario de 260 días, pues el templo es la pirámide del 20, y yo la asocio con la vertical que es precisamente donde se representan los días de dicho calendario sagrado. De todos modos, la pirámide de la luna (52) ya es la pirámide del 13, por lo que, en el día de hoy, no voy a desestimar la sospechas del INAH de que dicha plataforma no provenga del plan original de a construcción de la ciudad.
Teotihuacan es en si misma una pirámide
Al calcular el valor de un punto sumando las distancias de dicho punto a las tres pirámides, todo se multiplica por tres. Del mismo modo la pendiente de las pirámides es de 3hunabs de lado por uno de altura. Es decir, si consideramos que la ciudad es la cumbre de una gran pirámide de base el nivel del mar, sus extremos valdrían en dicha base lo mismo que mide en la cumbre al aplicar el sistema de sumas de tres distancias
Numeros triangulares de xolotl y Quetzalcoatl
Xolotl, el rio vale 630 (la suma de los 35 primeros numeros) y 666 (la suma de los 36 primeros numeros)
Quetzalcoatl, vale 990 (los 44 primeros).
En la mayoria de los libros que recogen el mito de los cinco soles, el total de años contados es 2028+600, 2628 es la suma de los 72 primeros numeros, y multiplicado por 3600 da 9460800 la precesion según Platon. Este es un dato curioso, pues la precesion platonica tiene como mayor triangular divisor 3240 (los 80 primeros numeros) 3240*2920=9460800 (2628 es el segundo)
Teniendo en cuenta que 2920 son los 5 años de Venus y los 8 de la tierra de los que hablamos anteriormente, si el mito habla de 2628 ciclos, manifiestan que por algún motivo daban mayor importancia a los 3600 dias que a los 2920.
3600 3744 y las alturas de las pirámides
La pirámide de la luna esta en la esquina 3744 y 3744 y su altura es 52. 3744=72*52
La pirámide del sol esta en un lado 3744 y otro 3600 y su altura es 72 divisor de ambos
El templo de Quetzalcoatl esta en la esquina 3600 y 3600 y su altura, 20, es divisora de estos.
¿Qué representa la medida de 1hunab?
Hugh Harleston se dio cuenta que el radio norte de la tierra es de 6000000hunabs exactos. Ya los griegos calcularon el radio terrestre por medio del ángulo de las sombras en dos puntos distintos de la tierra. La veracidad del hunab nos la da Quetzalcoatl, cuyos extremos de su esquina como su base es 3600. Se trata de una medida cuadrada y dos lineales, si partimos de una unidad infinitesimal y vamos aumentandola, la igualdad de valores solo se dan con el hunab.
Maurice Chatelain, ingeniero de la nasa, estuvo investigando un numero registrado en Nineveh, dicho numero babilonico evidentemente es astronomico 195955200000000
Maurice defendia que se trataba de una constante en el sistema solar, otra cosa que defendia era que se trataba de segundos y no de dias. 86400*2268000000. El segundo numero es 6000000 veces saturno (378 dias). Ya sabeis la importancia de saturno en Teotihuacan y que 6000000 veces su metro es el radio terrestre. ¿Acaso para los americanos saturno era tambien cronos, dios del tiempo?
Mediante programas informaticos que diseñe analicé los 378*86400 segundos, resulta que este numero tiene 378 divisores o ciclos de tiempo, comprendidos entre el segundo y los 378 dias. Tanto en nuestro reloj como en el hindú existen divisiones de 3600, división tan antigua como la unidad de saros mesopotámica o las dimensiones del templo de Quetzalcoatl y de los extremos en los que hace esquina.
Quizás por eso nuestro reloj es de 24 dias. Tendemos por nuestra naturaleza a diferenciar la cuarta dimensión de las tres espaciales. Teotihuacan mide en hunabs ciclos de 365 o 584 dias, por tanto “confundían” las 4 dimensiones. Pero creo que iban más lejos de lo que parece a simple vista en esa fusión.
El Mito De Los Cinco Soles
En Un Principio No Habia Nada, Y Entonces El Dios Eterno Ometecuhtli, Creo A Tonacatecuhtli (Señor De Nuestra Carne) Y A Tonacacihuatl (Señora De Nuestra Carne) Para Que Poblaran El Universo.
Estos Dos Dioses Tuvieron Cuatro Hijos:
El Primero Nacio Rojo, Y Sin Piel Que Cubriera Su Cuerpo Y Lo Llamaron Xipe Totec (Nuestro Señor El Desollado).
El Segundo Nacio Negro, Con Garras Y Colmillos De Jaguar, Y Lo Llamaron Tezcatlipoca (Espejo Negro Que Humea).
El Tercero Nacio Blanco, Con Cabello Rubio Y Ojos Azules, Y Lo Llamaron Quetzalcoatl (Serpiente Emplumada).
Y El Cuarto Nacio Azul, Con La Mitad De Su Cuerpo Descarnada, Y Lo Llamaron Huitzilopochtli (Colibri Zurdo).
Al Paso Del Tiempo, Los Cuatro Hermanos Se Reunieron Para Saber Que Es Lo Que Harian, Y Despues De Mucho Deliberar, Acordaron Crear Una Obra Que Los Venerase Y Dignificase Como Dioses. Huitzilopochtli Con Su Gran Poder, Hizo Una Gran Hoguera Alrededor De La Cual Se Sentaron Para Hacer Su Obra.
Crearon Al Hombre Y Lo Pusieron En La Tierra Y Lo Llamaron Huehuecoyotl Y Crearon A Su Mujer, Y A Los Dos Los Llamaron Macehualtin, Y Les Ordenaron Tener Hijos Que Les Rindieran Honores Como Dioses. Crearon Los Mares Y Los Lagos, Las Montañas Y Pusieron En Ellas Animales, Para Que El Hombre Los Cazara Y Se Alimentara De Su Carne. Al Final, Su Obra Estaba Completa Pero Habia Tinieblas En El Tlaltipac, Nunca Era De Dia Puesto Que No Habia Sol.
Primer Sol
Quetzalcoatl Tomo La Hoguera Y La Convirtio En Un Inservible Medio Sol, Enojado Tezcatlipoca Absorbe Para Si Ese Medio Sol Y El Mismo Se Convierte En Un Sol Completo, Siendo Muy Calido E Inclemente, Impidiendo Que La Vida Crezca En La Tierra, Ya Que Marchitaba Inmediatamente Cualquier Sembradio. Los Gigantes Que Habitaban En Esta Epoca, Llamados Tzocuiliceque, Alimentabanse De Chicome Malimalli (Siete Hierba), Que Son Los Piñones De Las Piñas.
La Maldad Del Sol Tezcatlipoca Duro Hasta Que Fue Derribado De Un Bastonazo Por El Indignado Quetzalcoatl En Un Dia Nahui-Ocelotl. Tezcatlipoca Cayo En El Fondo De Un Lago Y Emergio Convertido En Un Jaguar, El Cual Seguido De Todo Un Ejercito De Estos, Devoro A Los Gigantes.
Este Sol Fue Llamado Tlaltipactonatiuh O Sol De Tierra, Desaparecio En Un Año Ce Acatl( Uno Caña), Y Duro 676 Xiuhmolpillis.
Segundo Sol
Una Vez Derribado A Su Hermano, Quetzalcoatl Se Corporeizo Sol, Pero Siendo Mas Benevolo Con La Vida, Permitiendo Que Las Cosechas Se Dieran En Abundancia Y Que Los Hombres Fueran Felices Gracias A Su Dios. Los Hombres De Esta Epoca Alimentabanse De Frutas Silvestres Llamadas Acotzintli.
Todo Era Idilico Hasta Que En Un Dia Nahui-Ehecatl El Jaguar-Tezcatlipoca Subio A Los Cielos Y Derribo A Su Hermano De Un Zarpazo. En Su Caida, Quetzalcoatl Provoco Un Gigantesco Y Monstruoso Vendaval Que Desgarraba Los Cerros Y Destruia Todo A Su Paso Los Hombres Tenian Que Caminar Encorvados, Aferrandose A Lo Que Podian Y Por Esta Razon Se Convirtieron En Monos. Solo Sobrevivio Una Pareja, Refugiandose En Un Gran Bosque Cercano. Este Sol Duro 376 Xiuhmolpillis, Desaparecio En Un Año Ce-Tecpatl Y Fue Llamado Ehecatonatiuh O Sol De Viento.
Tercer Sol
Ahora Fue El Turno De Tlaloc De Hacerse Sol Y Tomar El Lugar De Quetzalcoatl. Los Descendientes De La Pareja De Sobrevivientes Poblan Al Tlaltipac, Y Alimentabanse De Atzinzintli O Maiz De Agua.
Pero La Gente De Esta Era Se Corrompio, Desatendian Los Preceptos Morales Que Los Dioses Les Habian Impuesto Y Se Dedicaban A Los Placeres Malsanos, Al Robo Y Al Homicidio. La Tierra En Poco Tiempo, No Fue Sino Solo Un Vasto Paramo Yermo En Poco Tiempo.
Harto De Tanta Podredumbre, Quetzalcoatl Le Ordena A Xiuhtecuhtli, Dios Del Fuego, Que Destruya A La Humanidad. Este Dios Emergio De Un Gigantesco Volcan En Un Dia Nahui-Quiahuitl. Y Comenzo A Llover Fuego Del Cielo, Los Hombres Atemorizados, Le Rogaron A Los Dioses Que Los Convirtieran En Aves Para Escapar Del Holocausto, Conmovidos Los Dioses Convirtieron A Unos En Pajaros Y A Otros En Guajolotes. Por Consejo De Xiuhtecuhtli, Solo Sobrevivio Una Pareja, Refugiandose En Una Cueva Muy Alta, Llevando Con Ellos Una Mata De Maiz Y El Fuego Sagrado.
Este Sol Desapareció En Un Año Ce Tecpatl, Duro 78 Xiuhmolpillis Y Fue Llamado Xiuhtonatiuh.
Cuarto Sol
Por Ordenes De Huitzilopochtli, Chalchuiuhcueye, La De Las Faldas De Esmeralda, Se Corporeiza Sol.
Los Hombres Poblaron Nuevamente La Tierra, Pero Esta Vez, Bajo La Tutela De Nene Y Tata, Los Sobrevivientes De La Pasada Destruccion, Los Hombres Siguieron La Conducta Que Les Dictaron Los Dioses. Alimentabanse Los Hombres De Esta Era De Nahui-Xochitl(Cuatro Flor).
Tezcatlipoca No Esta Complacido Con Toda Esta Bonanza Y Corrompe A Chalchiuhtlicue, La De Las Faldas De Jade, Y La Obliga A Destruir Por Cuarta Ocacion A La Humanidad. La Diosa Aparece En La Cima Del Cerro Llamado Atepetl, En Un Dia Nahui-Atl, Y Al Momento De Encajar Su Cayado En La Tierra, Comienza A Llover A Cantaros. Por Todo Un Ciclo Llovio En El Tlaltipac, Conmovidos De La Desgracia Humana, Los Dioses Deciden Convertirlos En Peces.
Este Sol Desaparecio En En Un Año Ce-Calli, Y Duro 77 Xiuhmolpillis. Este Sol Fue Llamado Atonatiuh O Sol De Agua.
Llovio Tanto, Que Al Final Los Cielos Perdieron El Equilibrio Y Se Derrumbaron Sobre El Tlaltipac.
Avergonzados Por Su Conducta, Los Dioses Deciden Reparar Su Error Y En Un Año Ce-Tochtli Se Reunen En Teotihuacan Para Deliberar Acerca De Lo Que Han De Hacer.
Entonces, Los Cuatro Hermanos Crearon A Cuatro Hombres; Atemoc, Itzacoatl, Itzmaliza Y Tenoch. Luego Entraron En La Tierra Y Emergieron En Los Cuatro Puntos Cardinales, Cada Uno Convertido En Un Arbol Diferente;
Tezcatlipoca Se Convirtio En El Tezcacuahuitl, Arbol Espejo.
Y Quetzalcoatl Se Convirtio En El Quetzalhuexoch, Sauz Hermoso. Y Juntos, Dioses, Arboles Y Hombres, Levantaron Los Cielos Y Los Colocaron En La Forma En Que Ahora Los Conocemos, Pusieron Las Estrellas En Su Lugar Y Escalonaron El Mictlan En Los Nueve Vados Correspondientes.
Al Final, Los Cuatro Hombres Se Convirtieron En Cuatro Aves Preciosas.
Todo Quedo Ordenado, Pero No Habia Hombres Sobre La Tierra, Asi Que Decidieron Crear La Version Definitiva De La Humanidad, Y A Falta De Materia Prima, Decidieron Bajar A Mictlan, Para Recoger AlgunHueso De Los Antiguos Gigantes Y Con Eso Hacer A Los Nuevos Hombres.
Pero Ninguno Queria Bajar A Mictlan; Tezcatlipoca Era El Idoneo Por Reinar En La Obscuridad, Pero No Quizo Molestarse En Ello.; Huitzilopochtli Por Su Parte, Consideraba Que Aquello No Era Una Tarea Digna De Un Guerrero Como El.; Y Xipe Totec, Consideraba Que La Materia Descompuesta No Seria Buena Materia Prima.; Al Final, Quetzalcoatl Se Ofrecio Para La Terrible Tarea. Uno Por Uno Fue Sorteando Los Nueve Vados Del Inframundo, Hasta Que Llego En Presencia De Mictlantecuhtli, Y Lo Convencio De Que Le Diera Uno De Sus Huesos Favoritos, Que Habia Petenecido A Los Antiguos Gigantes.
El Dios De Los Muertos Se Condolio Del Gemelo Precioso Y Le Regalo Uno De Sus Huesos Favoritos, Y Cuando El Dios De Los Toltecas Iba A Medio Camino De Regreso, El Dios De Los Muertos Lo Comenzo A Perseguir, Mostrandole Sus Terribles Fauces, Ordenandole Que Le Regresara Su Hueso. En Su Huida, Quetzalcoatl Cayo Y El Hueso Se Partio Por La Mitad, El Dios Del Viento Solo Recogio Una Parte Y Salio Huyendo. Quetzalcoatl Moldeo La Figura Humana Con La Mitad Del Hueso, Es Por Eso Que Ahora Tenemos La Mitad De Estatura Que Los Antiguos Gigantes.
Xipe Totec Le Infundio Vida Al Nuevo Hombre Y Le Llamo Huehuecoyotl, Coyote Viejo, El Primer Hombre.
Quinto Sol
Las Tinieblas Reinaban Aun En El Mundo, Asi Que Los Cuatro Hermanos Reunieron A Los Demas Dioses En Teotihuacan, Una Vez Ahi, Decidieron Hacer Un Nuevo Y Definitivo Sol, Uno Que Fuera Eterno, Asi Que Necesitarian De Dos De Ellos, Uno Para Que Fuera Sol Y Otro Para Que Fuera Luna. Hubo Entonces Un Voluntario Para La Primer Encomienda, Un Altivo Dios Llamado Tecucciztecatl, El Del Caracol Marino.
-Yo Sere Su Sol- Dijo Orgulloso El Guerrero,- Puesto Que Soy Lo Suficientemente Poderoso Para Esta Noble Tarea.
-Asi Sea Tecucciztecatl, Tu Seras El Sol, ¿Pero Quien Ha De Ser Luna?- Dijo Quetzalcoatl.
Los Demas Dioses Se Miraron, Puesto Que Nadie Queria Esa Oscura Tarea. Al Final, Todos Voltearon A Ver A Nanahuatzin, El Bubosillo, Un Dios Que Tenia El Cuerpo Cubierto De Llagas, Pero El Corazon De Oro Y Como Nadie Queria Tenerlo Cerca, Todos Le Obligaron A Ser Luna:
-Si Esa Es La Voluntad De Mis Hermanos, Sea Pues, Yo Sere Su Luna.- Les Dijo El Pequeño Dios.
Dicho Esto, Los Dioses Construyeron Dos Grandes Adoratorios, Uno Junto Al Otro, El Mas Grande Y Suntuoso Para Tecucciztecatl Y El Mas Pequeño Para Nanahuatzin. Por Trece Dias, Los Dioses Ayunaron Y Realizaron Ofrendas Para Purificar Su Cuerpo Divino.
Tecucciztecatl Ofrecio En El Tonatiuh Itzacual (Piramide Del Sol), Manquetzalli "Plumas Finas", Pelotas De Oro, Espinas De Coral Precioso Y Copal Muy Bueno. Este Arrogante Dios Se Vistio Con Sus Mejores Aderezos, Un Hermoso Lienzo Cubria Su Cuerpo Y El Aztacomitl, Bello Plumaje Decoraba Su Cabeza.
Nanahuatzin En Cambio, Ofrece En El Meztli Itzacual (Piramide De La Luna), Cañas Verdes Atadas De 3 En 3 Hasta Formar 9 Hatos, Bolas De Heno, Espinas De Maguey Teñidas Con Su Sangre Y Sus Pustulas. Para Esta Ocasion Vistio Un Amatzontli, "Tocado De Papel Amate" Y Un Maxtli, "Taparrabo" Y Estola Del Mismo Material.
Durante Un Lapso De Trece Dias Los Dos Dioses Hicieron Penitencia Y Ayunaron, Preparando Sus Cuerpos Y Almas Para La Dura Tarea Que Les Esperaba. Al Termino Del Plazo, Los Cuatro Dioses Creadores Hicieron Una Gran Hogera En La Calzada De Los Muertos, Cuyas Flamas Eran Tan Grandes Que Alcanzaban El Cielo Mismo.
- ¡Ea Pues Tecucciztecatl!, Entra En La Hoguera Para Que Nazca El Nuevo Sol. - Ordeno Huitzilopochtli Al Dios Del Caracol Marino.
- ¡Prueba Tu Ahora Nanahuatzin, Y Que Tu Intento Fructifique! - Dijo Huitzilopochtli Al Pequeño Y Enfermo Dios.
- ¡Sea Pues Su Voluntad Hermanos Mios! - Fue Lo Unico Que Dijo El Bubosillo. Por Que Inmediatamente Despues Se Arrojo De Cabeza Al Fuego. Tecucciztecatl, Avergonzado De La Valerosa Accion De Ese Insignificante Dios, Se Arrojo Despues De El Al Fuego. Acto Seguido, Se Arrojaron Al Fuego Un Aguila Y Un Ocelote En Ese Orden.
Por Otros Trece Dias Esperaron Los Dioses A Que El Sol Saliera Por El Horizonte Pero Nunca Sucedio Nada, Al Amanecer Del Dia Catorce, Un Aguila Salio De La Hoguera Llevando Un Enorme Globo Luminoso En El Pico, El Resplandor Que Este Emitia Era Suficiente Para Iluminar Todo El Tlaltipac, Y Era Benefico Su Calor.
No Alcanzaban Los Dioses A Reponerse De Su Asombro Cuando Emergio De La Hoguera Un Ocelote Llevando Entre Sus Garras Otro Globo Igual De Luminoso Que El Primero.
Quetzalcoatl Penso Que No Era Bueno Que Hubieran Dos Soles, Y Menos Aun Cuando Tecucciztecatl Habia Demostrado Tal Cobardia. Encolerizado, Tomo De Las Orejas A Un Conejo Que Pasaba Por Ahi Y Lo Arrojo Con Toda Su Fuerza Contra El Segundo Globo Luminoso, El Cual Al Impacto, Se Opaco Y Redujo Su Tamaño Y El Cuerpo Del Conejo Quedo Plasmado Para Siempre En Su Rostro.
Pero Los Dos Cuerpos Celestes, Sol Y Luna Permanecian Inmoviles En El Firmamento, Nuevamente Quetzalcoatl Hizo Uso De Su Grandioso Poder Y, Convocando A Los Vientos Les Dio Movimiento, Separandolos Para Que Nunca Coincidieran El Uno Con El Otro.
Pero Esto No Bastaria Para Que El Sol Siguiera Su Curso Eterno, Pues Les Exigio Que Lo Alimentaran Con Chalchiuitl "Sangre", Y Para Estos Los Dioses Decidieron Darle El Primer Alimento.
Ehecatl, Dios Del Viento, Fue El Encargado De Sacrificar A Los Dioses, Uno Por Uno Fueron Callendo Inertes Ante Su Cuchillo De Obsidiana. Xolotl, Hermano Gemelo De Quetzalcoatl, Se Nego A Morir Y Huyo,Logra Esconderse Entre Los Maizales Y Se Convierte En Pie De Maiz Que Tiene Dos Cañas; Acosado Nuevamente, Huye Entre El Agaval Y Se Transforma En Maguey De Dos Cuerpos Y Por Eso Se Le Llama Mexolotl.
Ehecatl Lo Descubre Nuevamente Y Se Mete Al Agua Transformandose En El Pez Monstruoso Axolotl, Ahi Lo Atrapa Ehecatl Y Le Da Muerte. Por Eso Xolotl De Ahi En Adelante Es El Patrono De Lo Gemelos, Pares Y De Todas Las Cosas Que Se Duplican.
Las tres dimensiones
Ya sabéis que la dimensión de la altura (el cielo 780 y el suelo 84 es decir wak kan), son una dimensión a parte de las otras dos (este 3591 oeste 3753 norte 3753 sur 3591), en la dimensión de la altura se encuentra la esencia de los dioses padres Tonatatecutli y Tonatacihuatl. En los cuatro puntos cardinales (las otras dos dimensiones) se encuentra la de sus hijos: Quetzalcoatl, Tezcatlipoca, Xipe Totec e Huitzilopochtli.
En cuanto a Teotihuacan se la menciona a partir del quinto sol, Teotihuacan es la ciudad del quinto sol. Cuatro son las claves que he desvelado en este mito.
La transformación de los 4 dioses creadores en árboles
Esto sucede una vez que se colocan cada uno en un punto cardinal de la ciudad, pero solo se menciona la transformación de Quetzalcoatl en sauz hermoso y la transformación de Tezcalipoca en árbol espejo. ¿No se habían transformado los cuatro dioses? En dicho párrafo se alude que los valores de los extremos de la ciudad son a pares, norte y este 3591 (el sauz hermoso) y oeste y norte 3753 (el árbol espejo). De hecho teniendo en cuenta que la calzada esta orientada a las pléyades, el sur y el este son en realidad simplemente el sur, y el oeste y el norte son en realidad simplemente el norte.
La inversión de papeles entre el sol y la luna
Según el mito, el dios que construyó la pirámide del sol acabó siendo luna y así mismo, el dios que construyó la pirámide de la luna acabó siendo el sol. Por tanto estas pirámides que se unían en una línea tienen invertidos los papeles. Ya sabéis que el templo de Quetzalcoatl es el templo del mes, el templo del 20 y debería medir 20hunabs. La pirámide de la luna es la pirámide de la semana de 13 días, y debería medir 52. Pero existe otra semana, la semana de 9 días y de está se encarga por eliminación la pirámide del sol. Los 13 hacen referencia a los 13 cielos y los 9 a los 9 inframundos, pero también hacen referencia al día y la noche, al sol y la luna, el águila y el jaguar.
Los cuatro intentos del constructor de la pirámide del sol
Intentos para arrojarse al fuego. Dicha pirámide divide su altura en 4, 18+18+18+18, y el eje y segundo pasillo frontal corta un cuarto de la base. Posteriormente me he enterado de que mucha gente piensa que se reconstruyo mal dicha pirámide y que en vez de 5 o 6 niveles, originalmente era de cuatro.
Los 9 hatos de 3 cañas verdes cada uno
Aquí se hace mención al sistema que descubrí de suma de distancias a las tres pirámides, ¿Por qué se le adjudica al constructor de la pirámide de la luna? Todos los que hemos medido Teotihuacan sabemos la importancia de la calzada de los muertos (prolongación de la pirámide de la luna) para poder tomar medidas a partir de ella. Hugh Harleston se dio cuenta que la mayoría de medidas eran múltiplos de nueve (los nueve hatos) pero nunca se le ocurrió sumar las distancias a las tres pirámides al mismo tiempo y no solo a una (las tres cañas verdes).
Por si no lo recordáis, los valores en un cuadrado de 2448*2448 deberían ser 3600 y 3744 y no 3591 y 3753, pero esa era la única forma para que también se dieran dos pares de valores iguales en un cuadrado de 2340*2340 con valores 3591 y 3429. Los valores 3591 3753 y 3429 son divisibles entre 27 (los nueve hatos de tres cañas) Los valores 3600 3744 y 3420/3438 no lo son.
La huida de xolotl
El gemelo de Quetzalcoatl, que se negó a auto sacrificarse para dar movimiento a los astros. Aquí nos reflejan la segunda línea. Esto podría ser otra curiosidad pues os he dicho que llamo las pirámides del sol y la luna como las gemelas, y ahora me di cuenta que el río y el templo son de verdad gemelos, Xolotl y Quetzalcoatl. La huida de Xolotl comienza en el templo de Quetzalcoatl, donde se separa de su hermano, y concluye en el punto central del río de San Juan.
Ya conocéis mucho de Teotihuacan, como por ejemplo que el río encapsula dicha línea en su forma de “U”. Xolotl mientras recorre la línea se encuentra a la altura de los dos brazos paralelos del río, por eso se transforma en “dos” cañas de maíz y “dos” cuerpos de maguey. Solo cuando la línea toca el río en su segmento central se transforma en el feo pez a Xolotl, animal acuático. Cuando recobra la unidad es cuando es atrapado como si se tratara de una emboscada.
CONCLUSIÓN
Las culturas precolombinas le daban una especial importancia al tiempo. De hecho eran los que medían el tiempo a los que se les daba el privilegio de hablar de los Dioses. Por eso Teotihuacan es la ciudad de los dioses, posiblemente un habitante de esta ciudad explicó a algunos vecinos el sentido de esta ciudad que mide el tiempo, que del punto central de cada pirámide a el punto más alto de la ciudad hay un Tzolkin, un calendario sagrado hacia el cielo; y que del suelo a ese punto central de cada pirámide suman 84hunabs que precisamente en el Tzolkin es wak kan (resurgir semilla/serpiente/cielo) Teotihuacan (o más bien Telo ti wak kan) el lugar por donde wak kan… donde resurge la semilla/serpiente/cielo.
No penséis que la idea de una ciudad cúbica es algo único. En la Biblia se menciona el futuro de una ciudad que llaman Sion que mide lo mismo de largo, ancho y alto. No penséis que Teotihuacan es la única ciudad americana que mide el tiempo, pues la mejor forma de atraer a los dioses americanos a una ciudad es midiendo el tiempo. Por eso cuando penséis, tened siempre en cuenta que nuestra sabiduría, nuestro conocimiento de las cosas tienen límites (unos límites que siempre podremos ensanchar un poco)
Por el momento sabemos que los días están medidos en esta ciudad. De uno a otro extremo, hay 1314000 y 1366560 días. Ahora hay que situar dentro de esta “matriz cuadrada” todos sus puntos importantes, es decir, el resto de muros, de pirámides, de centros ceremoniales… como si fueran chinchetas que marcan zonas en un mapa, aunque en este caso lo que marcan esas chinchetas son días en concreto con un margen de error de posiblemente 24 años, y con estas medidas hacer predicciones aunque tras la perdida de Jesús Alberto no se si alguno del grupo tendrá las cualidades para hacerlo.
Los aztecas pensaron que la construyeron los dioses, y yo os explique como la construirían los hombres. Os he dicho que mataron dos pájaros de un tiro con las paralelas. No solo sucede con ellas, hay muchas formas de obtener 2268 a ambos extremos de un sector de 2250, solo una de que una de sus dos mitades sea 378+378+378, además si calculáis los valores de los extremos en el ancho 2268 veréis que son 8,5*378 y 9,5 por 378, se diferencian en un ciclo de saturno. Si comprendisteis todo lo que os explique también seréis capaces de sacar vuestras propias conclusiones.