US Patent #2,995,633

August 8, 1961

"Means for Aiding Hearing"

Inventors: Puharich et al.

EPI256
 

 

 

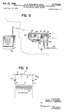
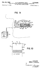
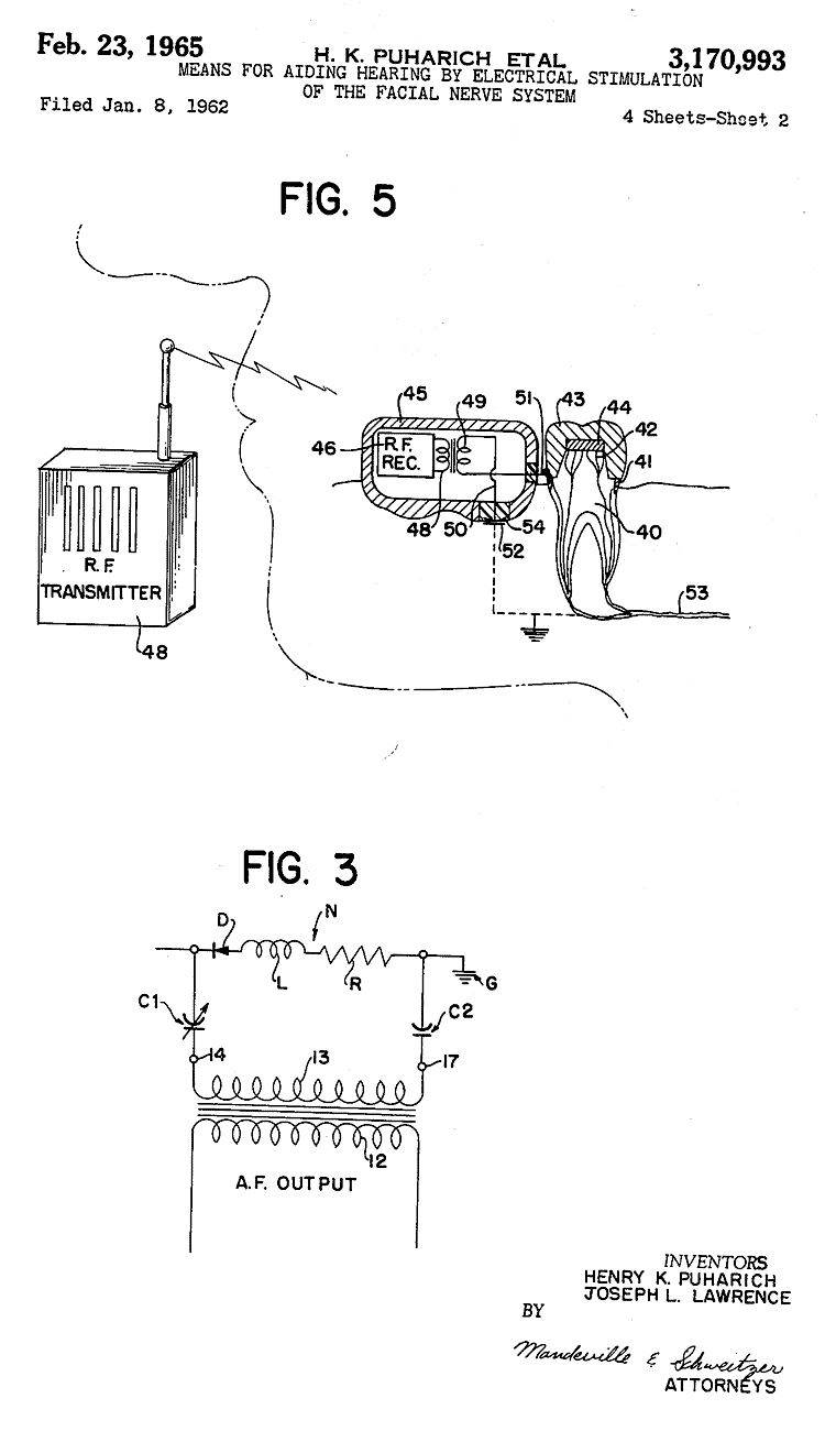
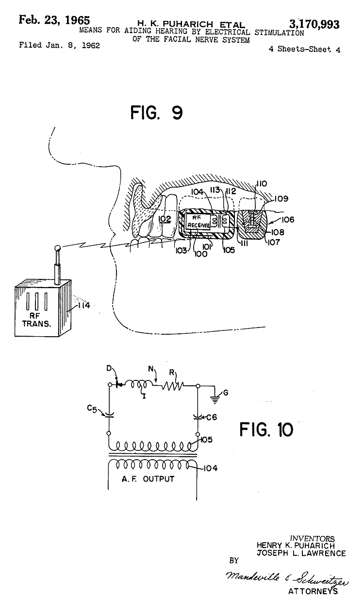
US Patent #3,170,993

February 23, 1965

"Means for Aiding Hearing by Electrical Stimulation of the Facial Nerve System"

Inventors: Henry K. Puharich and Joseph L. Lawrence.

EPI1119