|
Chapter 13 QUANTUM NUMEROLOGY AND VORTICULAR PHYSICS, NAZI STYLE
The bewilderment of Reichminister of Armaments Albert Speer when confronted by prosecutor Jackson's allegations of a German chemical weapons test of extraordinary power near Auschwitz is not an isolated instance.2 Bewilderment seems to be the normal state of mind when confronted by the even more sensational allegations that have percolated through the press and UFOlogy journals since the war's end of Nazi development of prototype "flying saucers." How could anything so outlandish be true, much less be publicly reported? 1 Nick Cook, The Hunt for Zero Point, p. 227. 2 In the light of the previous chapter's information, another plausible explanation of Speer's ignorance of the weapon, as well as an explanation of what the weapon might have been, now present themselves, for a fuel-air bomb would fall well within the parameters of the test described by Jackson, and since, once again, the test occurred under SS auspices, it is not surprising that Speer did not know of it. A starting point for entry into this much-maligned aspect of UFOlogy is what German physics actually was doing prior to and during the War under the Nazis. Much has been written of the deleterious effects of Nazi ideology on banning "Jewish physics," i.e., relativity, from German science, so this will not be covered again here. This left quantum mechanics as the only genuine physics that could equally be claimed to be "Aryan" and pursued by Nazi physicists with a vengeance. Quantum mechanics, in the state in which it then existed, could be summarized as having the following emphases and implications for the German scientists involved:
Given this series of known physical papers and experiments, and given the Kammlerstab's "alchemy" of combining technologies and concepts to seek underlying unifying principles and methods, might they have put all these together to come up with the beginning theoretical outlines of a physics completely different than the public consumption physics proffered since the end of the war, up to, and including the 26 dimensional monster called "String theory"? If so, are there any indications that they did so, or were beginning to? While the indications in terms of actual papers are slight, those indications, coupled with the revelations that have come from Germany since its reunification, suggest that the answer to both questions is "yes." A. Gravity, Vortices, and Quantum Numerology Dr. Ing. Ott Christoph Hilgenberg was a student of the renowned Nobel laureate Walter Gerlach, whose work in magnetic spin polarization in 1921 had earned him the Nobel Prize. Hilgenberg, however, while within the "mainstream" of physics, was not one to allow his mind to be constrained by conventional concepts, as any glance at his two little known, but quite unconventional and thought-provoking papers will attest. In 1931 Hilgenberg published what may best be called an arcane paper entitled "Gravitation, Tromben, und Wellen in bewegten Medien," or "Gravitation, Beats, and Waves in Moving Media." The title itself is quite suggestive, for it is the first indication that, even before the Nazis, and after relativity, at least one serious and respected German physicist is still thinking of the old idea of an aether, but thinking about it in a way quite different from the static aether concepts of the 19th century that led to the famous Michelson-Morley experiment, and Sagnac's rotational version of it. For Hilgenberg is thinking of a dynamic aether, spurred in part no doubt by the implications of Sagnac's version of the famous experiment. Hilgenberg's paper was arcane and abstruse in the extreme, advocating the idea of gravitation as a vertical ether sink. Thus, as in relativity, gravity was the consequence of a complex geometry, only in Hilgenberg's case, this meant that "mass" was a geometric result manifest, for example, in a rotating body's interior. This led Hilgenberg to propose the very unconventional idea that the earth - or any other such rotating massive body -expanded and contracted, in a huge wave-like pattern over time. In 1938 Hilgenberg followed this paper up with a mathematical and theoretical physics tour de force entitled "Quantenzahlen, Wirbelring-Atommodelle und Heliumsechserring-Aufbauprinzip des Periodensystems der chemischen Elemente," a mind-twister that is no less impressive in English: "A Quantum Number, Vortex Atom Model and Hexagonal-ring Construction Principle of the Periodic System of the Chemical Elements." Hilgenberg had developed the mathematics for a system of modelling complete atoms according to vorticular rotational principles of the now long-discarded aether! The combined effect of these two papers and their mathematical and theoretical development allowed Hilgenberg to predict a number of effects completely at variance with relativistic physics, and long before similar observations in the late 20th century began to signal significant problems with the relativistic-Big Bang cosmology, e.g., heterodyning effects on light coming from a body moving toward the observer, or, to put it simply, why red-shift effects sometimes accompany bodies moving toward an observer rather than away from one. Under Hilgenberg's influence, Carl Friedrich Krafft took this "vorticular quantum mechanics" one step further, and posited atoms as essentially a geometric or topological construct of the aether that acted as "ether pumps", taking in or giving off energy based on the rotations of the various rings of dynamic aether around them. He developed this notion even further by positing various combinations of vorticular, rotating geometries as the basis for the then known sub-atomic particles. Krafft, whose views were totally eclipsed by war's end with the victory of the Allies - which likewise might be seen as a victory of relativity - was left to self- publish his works in this strange world of "non-linear physics", which were duly and promptly ignored by the more conventionally minded linear physics of relativity and its proponents.3 But is there any indication that all this theory about the vorticular and rotational aspect of a dynamic aether was ever pursued beyond the stage of theory? 3 No amount of explaining, however, can seem to quell the anti-relativist side of things for the simple feet that in most respects the theory of General Relativity has enormous predictive power, and therefore, scientific value and credibility. It is only recently that some crucial observations have arisen to challenge its assumptions. Indeed there is, but it requires a detour by way of a bit of aerodynamics, courtesy of Renato Vesco once again.
B. Disks, Boundary Layer, And Turbines Vesco maintained an unusual approach throughout the various reprinting of his book, namely, that German experimentation with disk shaped aircraft actually began as an experiment to transform the entire lift surface into the intake vent for a jet turbine. That is to say, on his view, the earliest German "saucers" were nothing more than standard suction aircraft, though admittedly of very unusual design. These experimental aircraft were further the offshoots of German experiments to suction the boundary layer from the lift surfaces of aircraft. The "boundary layer" is that small layer - only a few molecules of air thick - of air that "sticks" to a lift surface, such as a wing, and, as an aircraft moves faster, this layer increases the drag on the lift surface, and therefore weakens its efficiency and requires more energy to move the craft. As speed increases and depending on the configuration of the wing itself, great turbulence can build up behind the wing as the result of the thickening of the boundary layer, increasing the aerodynamic resistance. "It seems clear, therefore, even to a layman in aeronautics that the objective should be to move the point of transition as far to the rear of the moving body as possible in order to minimize the expenditure of motive energy required to propel the body through the air. This is especially true in high speed flight, since the power required increases at about the cube of the speed."4 Thus, prior to the war British, American, and particularly German researchers concentrated their efforts to develop various methods to deal with this problem. Various methods were tried and pursued during the war, including the use of micro-porous sensitized metal called "Luftschwamm " (literally, "air sponge) as both a lift surface and an intake vent for a jet turbine. The goal was simply to suction the boundary layer itself from the lift surface, thereby dramatically decreasing drag, and increasing efficiency and performance at high speed. According to Vesco, the Germans gradually reached some intriguing conclusions in these experiments:
In addition, it was demonstrated that inasmuch as they were planning a special turbine-powered project, it would have been advantageous to combine the two mechanisms into a single whole by feeding the turbine with air taken from the wing orifices instead of by the means of the usual forward-ram air intakes.
4 Vesco and Childress, Man-Made UFOs: 50 Years of Suppression, pp. 188-189. 5 Ibid., p. 193, emphasis in the original. This idea had also occurred to the British as well, but apparently the Germans had had no little success in combining micro-porous "sinterized" air permeable lift surfaces and turbine intakes, for a British postwar report,
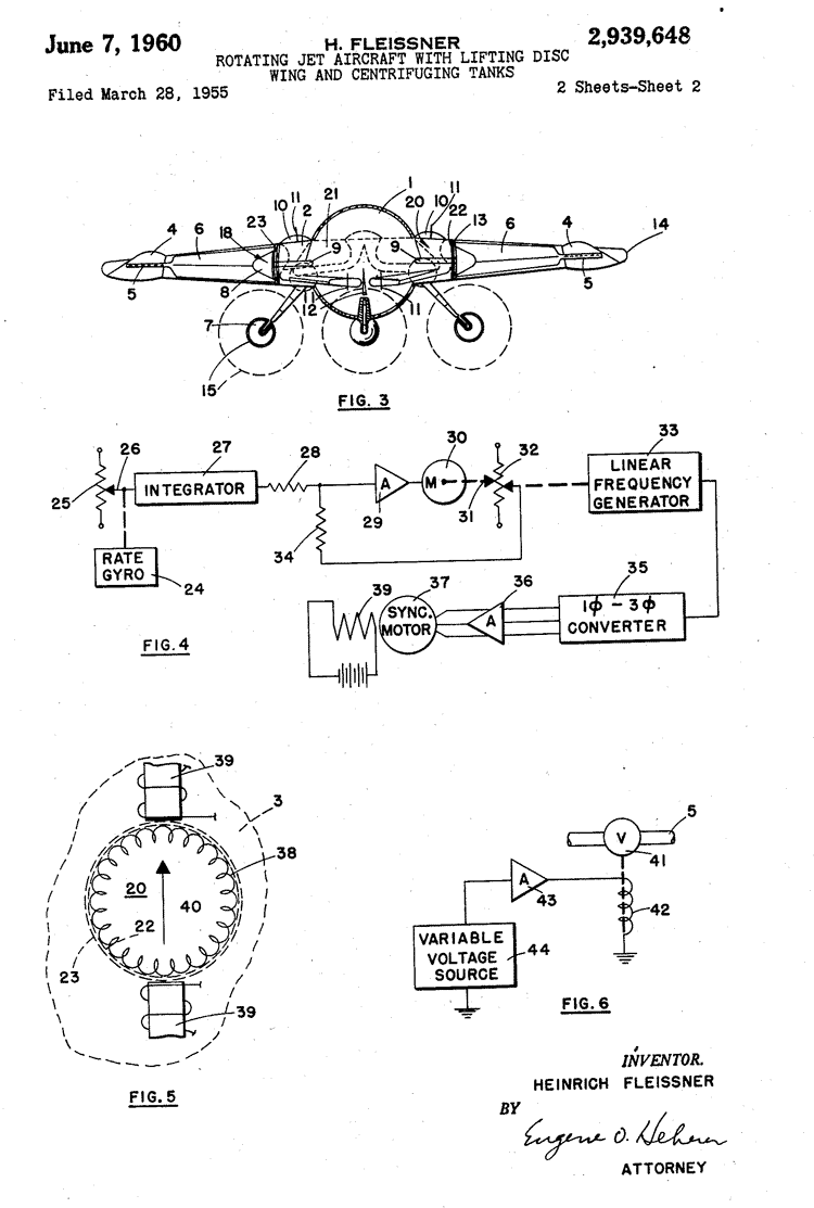
The report, as Vecco notes, "still bears the label 'top secret.'"6 What the Germans were apparently trying to do was simply build a disk-shaped aircraft, the entire surface of which was both the turbine intake, as well as the lift surface. This was, so to speak, the "Mark I" flying saucer: a standard suction aircraft, albeit, with a very unconventional lift surface, which was one and the same as its fuselage and air intake. However, Vesco maintained more in his book, namely, that the "Foo Fighters" - the strange balls of light that Allied and German pilots began to see accompanying their formations near the end of the war - were in fact an even more revolutionary radio-controlled anti-aircraft weapon, used to jam Allied radars via very small, ceramic-cased miniaturized klystron tubes, or to actually down Allied planes by firing ionized gases to short out, or even explode, an aircraft's ignitions or engines. In this respect, Vesco's assertions became more detailed, and simultaneously, more fanciful and easily dismissed. For one thing, Vesco claimed that these were secret German anti-aircraft weapons, a claim that seemed to fly in the face of absurdity, since the official history of their sighting never associated the loss of any Allied aircraft with them. In fact, they appeared quite harmless according to all standard versions of the history of their appearance. Once again, only recently has the German perspective on "Foo Fighters" been verified by a February 1945 report called "An Evaluation of German Capabilities in 1945." This report, among other things, lists a German "phoo bomb" as well as atom bombs. Miniaturized klystron tubes, as well as German advances in silicon and germanium crystals, two elements essential in the making of semiconductors which in turn are the basis of the transistor, were actually under development as well.7 Most of this research was burned by the Germans in the face of the Allied advance into the Reich, and the rest fell into American hands. 6 Vesco and Childress, op. cit., pp. 212-213. 7 Henry Stevens, Hitler's Flying Saucers: A Guide to German Flying Disks of the Second World War, p. 75. And this raises a significant problem, for the miniaturization of the klystron tube to a scale in some cases only a tenth as large as similar tubes in the Allied inventory, raises the specter of how far the Germans actually progressed in their semiconductor research. In any case, as researcher Henry Stevens notes, this bit of information provides the "missing provenance" to the origins of the transistor, and "explodes an argument made by the late Col. Philip J. Corso that "transistors were, at least in part, based upon alien technology."8 This will not be the first time we encounter a potential "German problem," as opposed to an "E.T. problem," with respect to Roswell and other celebrated crash recovery accounts. One of the unusual aspects of Vesco's claims, and again, one that brought him under a certain amount of criticism, was his claim that an Italian engineer and turbine specialist named "Bellonzo" had been involved in the Nazi saucer projects. As no Bellonzo could be found, this assertion was apparently a fabrication, until one Dr. Giuseppi Belluzo, indeed a specialist in steam turbines, showed up to corroborate the story. Why is this significant? Because in 1980 the German magazine Neue Presse featured an article about the German fluidics engineer Heinrich Fleissner. Fleissner was an engineer, designer and advisor to what he calls a "Flugscheibe" project based at Peenemuende during the war. It is interesting to note that Fleissner's area of expertise, fluidics, is exactly the specialty involved in investigating problems with boundary layer flow. Fleissner reports that the saucer with which he was involved would have been capable of speeds up to 3,000 kilometers per hour within the earth's atmosphere and up to 10,000 kilometers per hour outside the earth's atmosphere. He states that the brains of the developmental people were found in Peenemuende under the tightest secrecy. .... What is of most interest to us here are three facts. First, that Fleissner worked at Peenemuende on a flying saucer project. Second, that a hint of this design has survived to this day. Third, the surviving design can be linked to photographic evidence of German saucer, circa World War Two.9 8. Stevens, Hitler's Flying Saucers, p. 75. Stevens of course is referring to Corso's well-known and controverisal book, The Day After Roswell. 9 Ibid., p. 90. Let us pause to note that according to Fleissner there was a saucer project at Peenemunde and that it apparently involved the "suctioned boundary layer" concept we have already discussed. As we shall see, there will be an odd, little noticed connection that might corroborate the existence of this program when we examine the Roswell crash in the next part of this book. Stevens continues with his summary of Fleissner:
But Fleissner was not awarded his patent until five years later! The question is, why the delay? One reason for the delay is that the joint Canadian-American suction-saucer project, Project Silverbug, was also under development at the same time. Fleissner's patent was incomparably superior. At about the same time as his patent was granted the Canadian-American project was canceled.11 10. Stevens, Hitler's Flying Saucers, p. 90. 11. Ibid., p. 92. But why was the Fleissner design superior? Perhaps because the patent detailed the way the earlier Peenemunde saucer was able to function both inside and outside the atmosphere. In short, the power plant for the unusual ram-jet was capable of utilizing both jet fuel for in-atmosphere flight, and once outside the atmosphere, the suction vents could be closed, and the fuel shifted to a mixture of liquid oxygen and hydrogen.
But what has this to do with an Italian steam turbine expert? Very simply, because when the craft was in its,
And steam, of course, hisses, a sound sometimes associated with close observation of UFOs. From this simple, though unconventional, configuration of known technologies, the Germans would have progressed by elementary science and engineering principles to the next, "Mark II," stage. How could such a craft's range be extended? The answer -one which likewise occurred to American physicist Thomas Townsend Brown - was that the jet turbine itself could be coupled with a large electrical generator to become a source of electrical power. With sufficient super-cooling (remember Nowak's "molecular bomb"?) and sufficient electrical charge, even inert gases such as nitrogen, which forms the bulk of the earth's atmosphere, could be burned as fuel. Of course, while the theory is simple the engineering is monstrously difficult, but the advantages were plainly to be seen,
The next step, "Mark III," was imply to apply already existing German research in nuclear powered "conventional" craft to this unconventional airframe.15 Was such a saucer ever actually built? An article by Jim Wilson in the November 2000 issue of Popular Mechanics discloses a project to design a chemical-nuclear powered saucer craft for long-duration orbital missions, a craft tipped with nuclear missiles and bombs. 12 .Henry Stevens, Hitler's Flying Saucers, pp. 92, 95. 13. Ibid., p. 97. 14. Ibid, p. 99. 15. Ibid., p. 101. The project was allegedly based on wartime German designs, and its development was assisted by captured German personnel.16 16 Stevens, Hitler's Flying Saucers, p. 106. All this, extraordinary as it sounds, is however nothing more than the unconventional blending of very conventional technology and ideas, a methodology we have encountered before in the German secret weapons black projects. What happens therefore, when these conventional technologies are not only combined in unconventional ways, but with the very unconventional physics that the Germans may have been developing? With this question, we are at the entrance into the "Mark IV" saucer prototypes, saucers based on combinations of turbines, vorticular physics, and field propulsion. With it, we are similarly at the very deepest secret levels of Kammler's "think tank."
C. Viktor Schauberger: Rotational Physics and Extreme Temperature Gradients The story of Viktor Schauberger
(image right), an Austrian forester
and naturalist, is well-known to any who have investigated
These aspects concern three key areas:
In a nutshell, Schauberger's theories bring us to the very edge of what appear to be a wartime effort - a well funded, and deeply black effort - on the part of the SS to understand the relationship of the zero point energy, rotating fields, and gravity.
D. "Death Rays ": An Unusual Installation at the University of Heidelberg During World War One, as is well known, Nicola Tesla approached first the US, and then European military establishments with the idea for a "death ray", a high energy beam capable of melting "airplane motors" at some distance. Between the World Wars, in almost every western country, science fiction movies played on the concept, with one very popular movie with Boris Karloff, ever the quintessential "mad scientist", playing a crazed inventor tinkering with death rays and world domination. Similar "Buck Rogers" type gadgetry delighted movie goers in Britain, Germany, France, and Italy before the Second World War. Then, as the Nazi UFO Mythos emerged, astonishing and specific claims began to be advanced, again by the same circle of a few disenchanted postwar Nazi sympathizers, of astounding beam weapons, of Motorstoppmittel (Means to Stop Motors), a device that resembles modern electromagnetic pulse weapons designed to knock out electronic circuitry, of electromagnetic rail guns, and of a mysterious weapon the Germans were working on called a Kraftstrahlkanone, a "Strong Ray Canon". The device was first reported by Henry Stevens.34 34 Henry Stevens, German Research Project, The German Death Rays. The Kraftstrahlkanone Schematic Reproduced by Henry Stevens This odd looking L-shaped weapon comprised some sort of crystal, then a series of hollow tubes, each focusing whatever beam was generated to a narrower and narrower point, until it emerged from a small hole, with allegedly deadly effectiveness, though limited range. What the crystal was, we do not know. What sort of beam was generated, we do not know, though the hollow tubes in declining ratios would seem to indicate that it was some sort of acoustic wave, though why a crystal would have been used is unclear. For these reasons, the weapon was usually dismissed as a flight of fancy, and Stevens critiqued for reproducing it. However, with very recall experiments and advances in physics, we are in a position to conjecture what the weapon may have been, and what principle the Germans may have discovered - decades early, to be sure - that may have been behind its operation. An experimental, and highly theoretical and mathematical paper entitled "On the Existence of Undistorted Progressive Waves (UPWs) of Arbitrary Speeds 0<v<oo in Nature," by Waldyr A Rodrigues Jr. and Jian-Yu Lu was published in October of 1997. Investigating a class of Undistorted Waves, i.e., a class of wave forms that do not diminish in form or force over distance, they show that various solutions for these waves can be found within the standard equations for such waves.35 If this paper were merely another mathematical swipe at relativity - demonstrating solutions to certain equations that the "relativity police" would issue a speeding ticket for - then it would be easily dismissible. Unfortunately, the authors' main points are not the abstruse mathematical demonstrations and proofs, but rather, a method for generating such waves. First noticing that solutions for Maxwell's equations in a waveguide had both subluminal and superluminal solutions,36 they went on to propose a simple method for generating and for measuring the velocities of such wave structures. The method was called "Finite Aperture Approximation," basically, a method of squeezing acoustic or longitudinal waves through a very small hole, and observing the waveform interference pattern that emerged on the other side, and calculating the velocity, not of the wave, but of the interference pattern itself. If one knows the radius of the aperture and the strength and frequency of the pulse being squeezed through it, one knows the approximate depth of the Finite Aperture Approximation's resulting wave interference pattern.37 36 Ibid., p. 4. 37 Ibid., pp. 4-6, particularly Eq. 2.7 on p. 6. i.e., the scalar homogeneous wave equation, the Klein-Gordon equation, the Maxwell equations, and the Dirac and Weyl equations have such solutions, even in the vacuum. (Rodriguez and Jian-yu, "On the Existence of Undistorted Progressive Waves (UPWs) of Arbitrary Speeds 0<v<oo in Nature," p. 1. The results of experiments with at acoustic longitudinal pulses led the authors to conclude,
Additionally, the authors of this unusual paper are "quite sure" that such a wave interference pattern "can be launched over a large distance."39 Then come the bombshells:
While this is not the place to summarize their lengthy mathematical critique of Special Relativity, based on their experiments, it is worth noting that the existence of this little known and recently discovered class of waves, or more specifically, wave-interference systems, "implies a breakdown of the Principle of relativity in both its active...and passive...versions."41 38. Ibid., p. 7. 39. Ibid., p. 18. 40. Ibid., p. 21. 41. Ibid., p. 36. The authors' critique of these two versions of Relativity and their dominance in theoretical and experimental physics is highly mathematical and, in a word, thought-provoking. What emerges from a comparison of this paper and the alleged Kraftstrahlkanone is that apparently the Germans may have discovered and been conducting research into a similar, if not identical, phenomenon, a phenomenon that others would call a crucial component of scalar physics: electromagnetic wave-interference to produce a wave-system of superluminal and deadly force. They were, it seems, experimenting with some weaponized form of a Finite Aperture Approximation device. But why a crystal? In part, perhaps, because as is well known, crystals under stress, and acoustic bombardment would be one form of stress, give off minute packets of electrical energy via the piezo-electric effect. But they also give off minute packets of sound, or "phonons", as well. But beyond this allegation, is there any other indication that the Germans were after exotic "post-nuclear" generation weaponry? There is indeed some indication that the Germans were involved with extensive research into "Tesla" technology and weaponry and other exotic particle beam technology at the University of Heidelberg. As Mayer and Mehner report, there is in available documentation that some type of atomic research was being conducted at Ludwigshafen by none other than I.G. Farben. But this research "had in reality more to do with the development of the so-called 'death rays'."42 In a file dated December 1, 1944 on this research, it was noted that the work force was moved from Ludwigshafen to Heidelberg in July of 1943.43 This facility in Heidelberg was completely underground, being some 50 meters long and 25 meters wide, with a roof from 8 to 10 meters high, of .75 and 1 meter thickness. The entire bunker complex, as detailed in the diagram on the next page, consisted of a large parabolic reflector made of quartz, a "polytron," a power circuit running the circumference of the bunker, a storage area for various electrical equipment behind the quartz reflector, a generator and a transformer, a "stand" on which various targets for disintegration were placed, and a control-observation booth to the side of the stand. The quartz parabolic reflector was approximately one centimeter thick.44 42. Mayer and Mehner, Die Atombombe und das Dritte Reich,
p. 73, my
translation. An American intelligence report declassified only in 1998 described the experiments conducted with this and similar apparatus as follows:
This experimentation sounds like a much more sophisticated high voltage direct current form of Tesla's direct current impulse experiments, as well as of the unusual accidental disappearances of tools and equipment in a US Navy arc-welding facility that prompted an investigation led by none other than T. Townsend Brown during World War Two.46 45 Harald FSth, Geheime Kommandosache- S III Jonastal und die Siegeswaffenprodiktion: Weitere Spurensuche nach Thuringens Manhattan Project, p. 107. 46 q.v. my Giza Death Star Deployed, pp. 212-214.
E. Indications of Zero Point Energy and Scalar Physics Experimentation There are a number of strong indications that the Germans were also experimenting with a variety of "Tesla" like devices that could, conceivably, also be called Zero Point Energy devices. In 1978, the British government finally declassified a British Intelligence Objectives Sub-Committee (BIOS) report on two curious circuits devised by German naval engineer and inventor, Hans Coler (or Kohler). Entitled The Invention of Hans Coler, Relating to an Alleged New Source of Power," B.I.O.S. Final Report no 1043, Item No. 31, Summer 1946, this report consisted of tests and findings on two strange circuits conducted at the University of Berlin between the World Wars under the auspices of none other than Dr. Schumann, discoverer of the Schumann resonance of the earth.47 47 The report is reprinted by the Integrity research Institute, 1422 K Street NW, Suite 204, Washington, D.C. 20005. A mere glance will explain why the device attracted the immediate attention of the German Navy, which classified it as a possible source of quiet and limitless energy for submarine propulsion. It will be noted that this hexagonal construction of coils and magnets and two "rotating" sub-circuits has absolutely no source of power. Yet, to the mystified Coler and Dr. Schumann, it nevertheless managed to produce, or better, transduce, power seemingly from nowhere. Little is known how much farther the Germans took this device, or for that matter, how far the British took it for the two decades and a half after the war that they had to work on it until its declassification. What is unusual is that Dr. Schumann was involved with secret German research on "batteries" as late as 1943, and was subsequently brought to the United State as part of Operation Paperclip. It was this same Dr. Schumann who had noted in 1926 that Hans Coler's device exhibited "no fault, hoax, or fraud on the part of its inventor."48 Such "free energy" devices seemed to have come very early to the attention of the leadership of the Third Reich - witness the meeting between Hitler, Planck, and Schauberger - and more especially to the attentions of the SS. Devices involving pulsed Tesla coils, suspiciously similar to Tesla's own "Impulse Magnifying Transformer" were constructed.49 48 Henry Stevens, Hitler's Flying Saucers, pp. 168-169. 49 Ibid., p. 168. One such device, the so-called Karl Schappeller Device, bears close scrutiny, since it bears resemblances to another device found by Nick Cook and described in his Hunt for Zero Point. This odd device is described by Henry Stevens as follows:
50 Stevens, Hitler's Flying Saucers, p. 177. 229 Before proceeding to how this device allegedly operated, it is important to note that this device bears strong resemblance in some respects to a device called "the Bell" uncovered by Nick Cook and his researches, covered below. Moreover, we shall see how the sum total of all these strange coils, spheres, and Bells will sound only familiar with devices alleged in two famous UFO crashes after the war. Returning now to the Schappeller device and its operation, for Schappeller the "neutral area", called the Bloch wall in a bar magnet, where the polarity is neither "north" nor "south", was of great interest and significance to Schapeller. In the Schappeller device it is noted that the empty area between the two magnets corresponds with this Bloch wall of neutrality.51 It is this "neutral area" that is the area electrically charged by grounding when the device is put into operation. The result is a "new kind" of magnetism, a glowing magnetism in which, according to Schappeller's interpreters, electricity is stationary and magnetism is radiated.52 At the Bloch Wall, "the point of zero magnetism, no spin and magnetic reversal, is the point, so Schappeller theorized, energy enters and is radiated, in the form of gravity. Thus, according to one interpreter, gravity is a quadropole (four poles, rather than two poles), 360 degree radiated push.53 But most astonishing about the little known Schappeller were his extraordinarily revolutionary, and prescient, views on thermodynamics, views that, in his day, would have had him roundly dismissed as a crackpot, but some 35 years later, became an exciting new area of physics and chemistry research. That area is non-equilibrium thermodynamics and systems kinetics. Schappeller had something to say about the Second Law of Thermodynamics. He said there was another and unknown thermodynamic cycle which runs opposite the Second Law. To name this idea we will call it "Reverse Thermodynamics". It is the reverse of the Second Law of Thermodynamics in that it leads to an increase in entropy. Not only is there an increase in order by there is an increase in cold! Schappeller.... built his spherical device primarily to demonstrate the principles behind this Reverse thermodynamics. It was not designed as a practical machine.54 51 Stevens, Hitler's Flying Saucers, pp. 178-179. 52 Ibid., p. 179. 53 Ibid., p. 181. 54 Ibid., p. 182. Both Schappeller and Schauberger were implying a physics based, not on inanimate lifeless processes, the physics we have come to know, but on animate, creative processes hut Schappeller's views on hydrodynamics were truly revolutionary, and some decades ahead of their time, until Ilya Prigogine won the Nobel prize in chemistry precisely for his pioneering work on self-organizing principles evident in systems driven to a high state of non-equilibrium in 1977.55 The new paradigm, a breathtakingly simple, and yet far-reaching one, was simply that equilibrium had been replaced with non-equilibrium in physics, especially for systems analysis. 56 55 q.v. Ilya Prigogine, and G. Nicolis, Self-Organization in Non-Equilibrium Systems: From Dissipative Structures to Order Through Fluctuations, (J. Wiley & Sons, New York) 1977. 56 I shall explore the significance of this paradigm in my next work on the Great Pyramid and the recent topological papers by Krasnoholovets and Bounias.
57 Korsching's odd comment about artificial rubies at Farm Hall should be recalled in this regard. With these thoughts in mind, we now approach what may be the most sensational experiment the Germans undertook during the War. The device was called simply, "The Bell", and its shocked and dumbfounded discoverer was Nick Cook. 2. The Brotherhood of the "Bell" In the 1960s, a movie with Glenn Ford and a young Dabney Coleman, playing a small part as a government agent, was made. The movie was about a secret society allegedly at work behind the scenes in American society and politics, to manipulate research grants and control the direction of society. In the movie, Ford plays a member of this society who is served his "due bill" for all the favors the society has granted him, and forced to betray a Hungarian friend in order to deny that friend a crucial academic post and grant. His friend is named Dr. Hlavaty. I have always thought that perhaps the movie's Dr. Hlavaty was not so fictional, being perhaps based on the brilliant Hungarian physicist, Vaclav Hlavaty, who attempted a six-dimensional solution to the Unified Field Theory that had eluded Dr. Einstein. Whatever the truth of that hypothesis, it is perhaps interesting to note that the "Brotherhood of the Bell" seemed to exist for no other purpose than to suppress certain types of research, or at least, to keep it out of the public eye. It should come as no surprise, then, that there was a "brotherhood of the Bell" during World War Two, for one of the most strange objects the Germans were experimenting on was a device that was known simply as "The Bell." So sensitive and secret was this device, that when it was evacuated from its underground secret laboratory in Lower Silesia prior to the Russian occupation of the area, the SS shot the approximately 60 scientists - doubtless on Kammler's orders - that were involved with this strange object.58 The Bell consisted apparently of two counter-rotating cylinders, and resembled a Bell in its general shape. It stood approximately 12 to 15 feet high, and was approximately 9 to 12 feet in diameter.59 58 Nick Cook, The Hunt for Zero Point, p. 187 For a fuller discussion of the Bell and its mysterious properties, consult my Giza Death Star Deployed, pp. 121-128. 59 Cook, op. cit, pp. 191-193 Into this device, an unknown purplish metallic-liquid looking substance known only as "Xerum 525" or "Serum 525" was poured, apparently to be mechanically rotated at high speed, and possibly electrically rotated as well, by the device. The result was that organic objects placed within the field of the Bell swiftly decayed without putrefaction, decomposing into a black goo, and then finally, into dust, within a matter of hours, and not several weeks. So strong was the field that resulted from the Bell, that on its first test the technicians and scientists involved were all killed. Subsequently, the Bell was operated only for one or two minutes at a time, and housing below ground in a room bricked and tiled with ceramic tiles, which were then covered in thick rubber mats. After each test, the mats were burned, and the room washed down by concentration camp inmates with brine.60 When Cook was shown the installation in which the Bell was housed, he was also informed of its high electrical consumption.61 What was the mysterious "Xerum 525?" When I first read of this substance which had to be stored in lead lined cylinders, I first thought it sounded like a radioactive isotope of mercury, or perhaps some other radioactive material suspended in solution of some sort. More recently, allegations have surfaced concerning the neutron emitting properties of so-called "red mercury" or mercury antimonate oxide, supposedly a source for detonating thermonuclear warheads without the necessity for detonating an atom bomb, and a powerful conventional explosive in its own right. Whatever the mysterious substance was, it seems clear that it was highly radioactive, and that the Germans were subjecting it to extremely high mechanical and electrical rotations to study t h e resulting field effects, effects that Cook's advisors could only qualify as "torsion" fields.62 These fields are thought by some contemporary physicists to have direct relevance to the study of gravity, and of time.63 Close to the Bell's underground testing bunker the Germans had built a large concrete henge-like structure, in the pillars of which were high grade steel hooks, an obvious testing frame for what must have been an extremely powerful propulsion device. What happened to the Bell? No one knows. Like Kammler, it goes completely missing at the end of the war, and its scientists, as already stated, were murdered to a man by the SS to keep whatever precious secrets it, and they, had uncovered. 60 Cook, op. cit., p. 192 61 Ibid., p.p. 182-183, 197. 62 Ibid., p.p. 192, 194 63 In this regard it is perhaps interesting to note that, years prior to the publication of Nick Cook's book, well-known science-fiction-horror-thriller author (whose genre and style is so compellingly unique), Dean Koontz, published a novel called Lightning, the theme of which was a wartime German experiment with a time machine that, coincidentally (?) consisted of rotating cylinders! But as we shall discover in the next and final part of this book, the Bell may have surfaced again under very public, if not bizarre, circumstances. |