Colorado Springs
Aug. 12, 1899

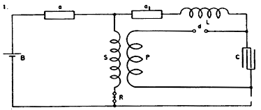
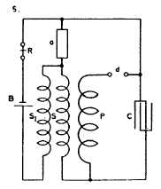
Further modifications in signalling apparatus.

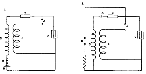
Figs. 1. and 2. show ways of securing initial excitation by means of very high inductance £ connected as shown.

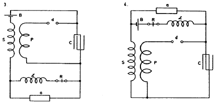
Diagrams 3. and 4. illustrate similar plans of connection. In the former the battery B is in the main circuit, in the latter in a shunt to device a.

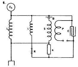
In Figs. 5. and 6. other modified connections are shown. In 5. an auxiliary secondary S1 with battery and relay is connected around device a which is excited by main secondary S.

In 6. a similar connection is used with a buzzer b to excite device a through secondary S.

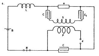
Figs. 7., 8. and 9. again illustrate other arrangements in which two batteries were employed, one generally to secure initial excitation.

 

Colorado Springs
Aug. 13, 1899


Experiments with oscillator 35—35 1/2 turns. Tension on Westinghouse Transformer 15,000—22,500 volts. Supply transformers connected 100 volts. 1 primary turn, all jars tension 15,000 volts, effects would indicate capacity too small.

To ascertain this the connection was changed to 2 primary turns in series and 1/4 capacity (2 tanks). The capacity was now varied but resonance effects moderate. All experiments show clearly too much capacity and comparatively little self-induction in secondary. There is a large movement in the wire, but pressure can not appear on end as it would in the absence of capacity.

By adding capacity on one end better results indicate that this view is true.

One of the balls 38 cm. on end results much better, sparks on arresters much stronger.

Two balls connected — effects still stronger, sparks livelier on arresters but the tension still too small. Needs much more capacity on the end to overcome internal capacity distributed along cable.


Now again changed to one turn as oscillation much better. The extra coil was added and adjustment of capacity made. Best results with 3 2/3 tanks capacity on each side. An empty tank placed on top of the coil for capacity. The effects with 22,500 volts on W.T. remarkable. The streamers very rich red, quickly darting up to 9 feet long. Many brilliant sparks would jump up to a 10 foot distance.
 


Colorado Springs
Aug. 14, 1899

The following arrangements with two sensitive devices were the subject of consideration and experiment today:

This disposition (1.) though it worked fairly had the disadvantage that a diminishing of resistance of device a was not very effective in increasing the charge of the condenser, but by making the secondary and relay circuit of very high inductance and resistance this defect was to a degree remedied.

By changing connection to the one indicated in the second diagram the condenser was stronger and more effectively charged upon the falling of the resistance of either of the devices a a1.

The conclusion arrived at from many experiments with two devices, which seem to indicate that two such sensitive devices are better than a single one as regards sensitiveness, was that the devices should be arranged as in Sketch 3 so that a change in one will produce a change in the other which in return should react upon the first and so on. This general scheme is to be further considered.

 

Other arrangements of apparatus with open secondary for exciting sensitive device.

In this plan (4.) the secondary S is connected to the terminals of sensitive device a through a small condenser CCX. A very small condenser is sufficient to cause the excitation.

This is a modified arrangement (5.) there being only one condenser and besides a very high self-induction around device a to provide for initial excitation when device a is originally of practically infinite resistance. The relay R may be placed around device a instead of self-induction l.

In the diagram below (6.) is shown a manner of connecting apparatus to a circuit Lx C, which is adjusted to be in synchronism with the primary vibrations of the oscillator and excites device a.

Again in Diagram 7. a special synchronized circuit is done away with, the secondary itself being adjusted to the primary vibrations. The plan adopted in New York apparatus of winding secondary and primary on a large drum (8.) serving at the same time as table is best. Tuning is easy, apparatus cheap, a large amount of copper may .be easily placed in the synchronized circuit.

 

Colorado Springs
Aug. 15, 1899

Change of secondary of oscillator to adapt it to the jars. Capacity for one tank 36 bottles 0.03816 mfd. Two sets of tanks, 8 in each, give in series a total capacity of 4 tanks that is 0.15264 mfd.

Now resonance of present secondary 5280 feet was obtained with total capacity of 6 tanks instead of 4. Reducing the figures for length we should have for smaller length a capacity larger in proportion , or 1.11 that is instead of 4 tanks we should have had 4.44 for 5280 feet. The required length for 6 tanks capacity. This length would be

With this length the oscillator will require same capacity as extra coil and good results may be expected.
 


Colorado Springs
Aug. 16, 1899

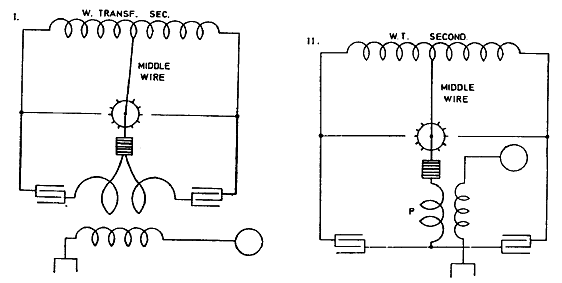
Owing to high self-ind. of secondary of W.T. and large ratio of transformation and also great inductive drop in supply transformers (which are poor) of inadequate capacity desirable to work with two circuits as adopted in small size oscillators with mercury break.

 

Various advantages are thereby secured chief of which: double break number, smaller resistance in gaps and increased capacity of W.T. for charging condensers. Connections may be as illustrated in I and II.

This connection shows well with small oscillators provided the short circuit of secondary of supply transformer avoided.
 


Colorado Springs
Aug. 17, 1899

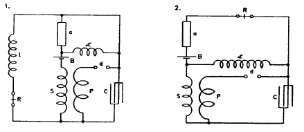
In the working of transformer as before illustrated I. or II. the short circuit of secondary is an inconvenience which is overcome by having a few teeth at a good distance, but this diminishes the number of breaks which it is practicable to secure. Another way is to adopt a process also successful with small oscillators — of charging the condenser, next disconnecting the same and finally discharging. But this has also the disadvantage of reducing the number of breaks.

Plan here illustrated seems free of these objections:

Here the short-circuit is avoided by the use of self-inductions Ly and L^ which must be well insulated to stand high tensions. A single self-induction inserted in the middle wire may also be used with like effect.
 


Colorado Springs
Aug. 18, 1899

The best result with apparatus at command, that is, 3 supply transformers, West. Tr. and condensers newly constructed is obtained by employing two dielectrics giving total capacity of condensers equal to that of four tanks. This allows working with 22,500 volts safely.

The results will probably be the same with 45,000 volts connection and 4 dielectrics but then capacity is only one tank and sparks in primary are longer and more difficult to control.

With connection illustrated before (Diagr. I or II) it is also practicable to work whh 45,000 volts total by connecting the tanks on each side in a series so that capacity of each of the two alternately working circuits is equal to that of two tanks. That is 2x0.03816=0.07632 mfd.

With one primary turn this gives


Colorado Springs
Aug. 19, 1899

Previous experiments showed in a number of cases good results with connection and quantities as indicated: Capacity in primary circuit 6 tanks on each side; 1 turn primary about 3/4 of self-ind regulator.

From reaction of capacity on secondary of W. Transformer it was probable that more capacity was required, but the transformer was overloaded when more tanks were joined.

With 22,500 volt connection the overload was very marked and lamps would go down 50%. When the connection was changed to 15,000 volts the lamps instead of falling would go up some 35% — 40%. No other change in capacity or otherwise was made and this showed that effect not merely due to an interaction and self-induction and capacity but that the e.m.f. was also a determining factor.

With the first connection effects were brilliant, sparks in gap 8—11 feet according to charge and adjustment. Above considerations led to changing to two turns primary. Capacity first 1 1/2 tanks on each side. e.m.f. on transformer 22,500 V would go up possibly 25%. Capacity was gradually increased to 3 2/3 tanks on each side when with Regulator all out the effects were best. The rise of e.m.f. about 35—40%. The sparks were curiously fierce, no direction seemingly, darting pass terminal l.

(Here fire started on coil).
 


Colorado Springs
Aug. 20, 1899

Exp. with oscillator secondary 29 turns continued to ascertain free vibration more exactly. Connection 2 series on each side, 4 dielectrics, total capacity 1 tank. Tension on Westinghouse Transformer 30,000 volts approx. Spark gaps outside about 3" each, inside one turn. Results on the whole less satisfactory showing clearly that difficulties increase as tension becomes greater. Middle box on one side broke down, sparks following through the mahogony frame to a screw and jumping from this a distance of 4".

 

This can be only due to rapid vibration and suddenness as tension on that box only 15,000/2 volts. There are some doubts as to the distribution of e.m.f. in condensers in series when vibration takes place. Strong (probably inductive) drop on supply circuit (exceptionally so).

Observation: When lamps increase strongest on supply circuit then spark will not jump over the gaps, showing that then e.m.f. on secondary of W.T. smallest.

Connection was changed to that indicated in sketch for the purpose of avoiding effect of short circuit of secondary of W. T. through primary arc. Absorbed energy was great. Sparks on switch serious. Lamps would go up very much when arc would break through. But general results not satisfactory. The condensers directly on W.TS. take strong current.
 


Colorado Springs
Aug. 21, 1899

Other experiments with oscillator secondary 29 turns. Simply spark gap. Connections used:

Plan illustrated in first diagram was adopted to obtain double number of breaks with same disk and securing other advantages. Also to better utilize W. Transformer. It was found that when one side on it worked remarkably well, sparks about 4 feet. The tension on each half of transformer being 11,000 volts approx. when both parts on interaction hurtful. The chief drawback being short circuiting of secondary.

 

The arc was snappy and loud indicating short circuit and rapid vibration through wire W. The secondary discharge was thick but spark not long about 3 feet. All tanks were in on either side and the transformer charged them full when separate. When both parts on evidently the secondary of W. T. was overloaded.

In arrangement illustrated in 2 short circuiting was largely overcome but the short circuit of secondary of W. T. remained the same. The results were similar no matter in what direction both primaries were connected. The necessity of overcoming short circuit in both arrangements became soon more and more important.

To improve — arrangement illustrated in Diag. 3. was used. It proved itself more economical but the amount of energy was limited. The hurtful short circuit was entirely obviated and the lamps were less affected.


Colorado Springs
Aug. 22, 1899

Arrangements for telegraphy tried. In these the chief point was to keep one end of secondary spool open so to allow full rise of pressure on this end. The sensitive device, one of the before described, excited fully resistance 12 ohms approx. Not excited over 100,000 ohms.

In Diagram 1. first experimented with, a disadvantage was found to exist: namely, the receiver R was operated through the break device d. This inconvenience was done away with in arrangement illustrated in Fig. 2. which allowed more sensitive-adjustment of Relay R and the apparatus worked better.

 

Capacity of condenser was varied up to 20 mfd. with changing success. Best results seemingly with small capacities up to 1 mfd. Secondary about 4,000 turns, primary Lamp cord No. 10 turns 28. The apparatus responded freely to small pocket coil at a distance of several feet with no capacity attached and no adjusted circuit. Consequently will go at great distance.

In these arrangements, as in the previous ones involving the same principle, the effect on the sensitive device is accumulative and a difficulty arises that namely the sensitive device will not readily de-sensitive. By inserting large resistance r in circuit with receiver R this effect upon the latter is largely reduced as the current through receiver and device is kept to a minimum.

 

By adjusting speed of rotation of sensitive device the inconvenience is also overcome.
 


Colorado Springs
Aug. 23, 1899

Experiments with new extra coil placed in center of primary. The spool 75" diam., 12 feet high, 160 turns in all. 120 turns wound close together in the adjacent grooves and 40 turns the upper ones at three times that distance, that is, two empty grooves between each two turns. Breaks on two sides alternately approximately 2,400 breaks per sec. On top (free end) ball of 38 cm. capacity. Resonance was obtained with 5 2/3 tanks on each side, one turn primary, self-induction in box 4 turns.

 

Gaps were 1 1/16 on each side plus gaps in box 2 turns. Tuning remarkably exact, 1/8 turn of self-ind. box reducing the effect very much. When exactly 4 turns in box, sometimes streamer 8 foot long would shoot out from a defective spot on wire. The ball on top reduced streamer capacity and prevented streamers from coming out all along the top turn as usual. The spark gaps work extremely well, loud explosive character indicating good vibration.

 

Such sparks are always noted when secondary well tuned. The system worked economically, the lamps in supply circuit not falling at all. The earth connection now was taken off and oscillator of same period — (the secondary 29 turns connected). Both had now same period, the secondary and the extra coil. On first throw of switch a spark darted to roof above from the ball and the cord caught fire. Fortunately, it was extinguished before doing damage.

This accident showed that better provisions against such an accident have to be made. The roof to be fixed with a guard of wire gauze which would prevent the wood from catching fire through sparks darting up. As it was dangerous to work further without guard against such an accident another ball 38 cm. supported on high was connected to earth and placed at varying distances from the ball on the end of the extra coil.

 

The sparks jumped from the upper turn of the coil to the Earthed ball and sparks of seven feet were easily obtained. It was evident that the distance could be much increased but this was deemed hazardous. As it was the sparks of seven feet were probably the longest obtained from such large balls or surfaces of such small curvature.

The connection of the primary circuit was now changed, two turns being used in series. This reduced the period to one half and it was thought that this would respond to the fundamental note of both secondary and extra coil. Experiments were disappointing for the display was not remarkable, the sparks were up to four feet long but much thicker and whiter. I believe that the true vibration was not struck but skipped.

 

As tiftie pressed, further experiments with the view of ascertaining the fundamental note were postponed and the first connection with one primary turn again made. Both balls were now connected in multiple to top of the coil and to the upper rod of a spark gap, the lower rod being earthed. There was no danger of setting fire in this way. The display was remarkably noisy. The sparks were up to 14 feet long, snapping quick,-explosive and very white.

 

Sometimes streamers would shoot out fully 11 feet. Often several sparks at once. No particular direction in striking. The capacity in the primary circuit was varied up to 8 tanks on each side. Always striking effects. The ground wire had no capacity and no sparks were seen on arresters but before, with only one ball and no streamers, sparks of 5/16" were drawn from water pipe in distant room.
 


Colorado Springs
Aug. 24, 1899

Experiments with new extra coil and oscill. secondary 29 turns continued. The ball on top was disconnected and a bare copper wire run around the upper rim of the coil to produce streamers. Capacity in primary circuit on each side was 5 2/3 tanks with 4 turns self-induction box in. It was not advisable to work because by the throw of switch some streamers would dart up to the roof a distance of 12—13 feet. The other ball used in previous experiments was placed at a distance of 11 feet from coil and also it was unconnected — except that it had a wire of about 8 feet hanging from it —the sparks would fly to it from the rim of the coil.

A curious feature is that the streamers are very sudden, explosive. This is due probably to the suddenness of the break. Occasionally an unusually long streamer would shoot out. This probably owing to resonance of break or temporarily short circuit over break, probably the former cause responsible. Desirable either synchronous break as worked in New York, or a very rapid one. The speed of motor is to be increased to double for this purpose.

Coil was disconnected from the oscillator and connected to the ground. The period corresponded to that of the primary with 7 tanks on each side, no self-induction. 5 2/3 tanks, 4 turns, and 4 tanks and 9 turns. Thus 3 tanks made only a difference of 5 turns on self. box. With four tanks tuning wonderfully close, twice it was missed before finally located.

(The roof of building was fixed today, cords done away with)
 


Colorado Springs
Aug. 25, 1899

Experiments continued with extra coil on wooden frame 12 feet high, 6 feet diam., 160 turns No. 10 wire. A bare copper wire was supported on top, the wire forming a circle not closed of about 8 feet diam. Another copper wire was supported 4 feet below and at a distance of about 13 feet, all around the diameter of circle being approximately 34 feet. This circle (also not closed) was connected to ground.

 

Very powerful streamers were produced sometimes extending the full distance between the wire circles, but still they showed tendency upward in spite of presence of ground circle. Often sparks would pass in curved paths between the two circles. During the display no sparks on arresters, small sparks in adjacent room from water pipe. Capacity on each side from 5 2/3—7 tanks.

 

Longes streamers with former value. The circle of 8 feet diam. was then taken down and another one about 10 feet placed on top of coil. Streamers now showed some tendency to pass to grounded circle. Sparks to the latter more frequent and brilliant. No play on arresters and small sparks in adjacent room as before.

One of the balls was now connected to the ground but although sparks of eleven feet jumped to same no sparks on arresters. The vibration was evidently slow, that pertaining to extra coil and harmonics in earth wire from ball did not preponderatingly appear.
 


Colorado Springs
Aug. 26, 1899

 

Experiments with oscillator secondary 29 turns and extra coil last described continued.

The alternate motor was put on 200 V with self-ind. coil in series, latter regulated so that motor could drive disk of break with twice the speed, that is 4200, the speed of motor being approximately 2100. This gave, since disk" had 20 teeth and two alternately working breaks, breaks per second.

In the first trials connections were made as in sketch. The spark gap between wire circle on top of extra coil and ball supported was 8 feet.

Sparks passed readily and the display on arresters was remarkable. Thick arcs joined the arrester contacts on both lines and jumped also through one of the choking coils. This was the strongest effect so far on arresters.

A choking coil was now inserted in ground connection to see whether by lengthening the period of the earth wire the sparks on the arresters would be diminished. This coil was 34" diam. wound with one layer wire No. 16, thick rubber insulation (layer 10" high) 50 turns. This coil did not weaken the effect much probably because frequently sparks would jump between the turns.

 

Otherwise it was surmised that the vibration of the secondary itself with the extra coil might be responsible for most of the e.m.f. generated between the ground and line. Singularly, despite this strong effect as evident from arresters but very small sparks were drawn from water pipe in adjacent room, this seemingly indicating that in this experiment the earth acted as a nodal region.

The conclusion from these first experiments as to the efficiency of the break was that double number of breaks decidedly better. Nor did it short circuit the transformer more because of the increased number, but on the contrary less as far as could be judged from the lamps on the supply circuit which went up as the switch was thrown in.

It was evident, furthermore, that the large circle of wire which was before supported above the secondary and grounded, strongly interfered with the action on arresters because it allowed local vibration which was not effectively transferred to the ground and the air.


To decide surely whether, and to what extent the long waves were responsible for the difference of pressure evident on the plates of arresters, the secondary and extra coil were connected as in sketch. In this connection only long waves could be effectively transmitted upon the ground. It would have been desirable in this and previous experiment as well to take off the wire circle and substitute a ball on top of the extra coil but this being inconvenient the circle was left.

As the extra coil had now only a small initial pressure the e.m.f. obtainable in the spark gap was much smaller and the gap was reduced therefore to 4 feet at which distance sparks readily jumped. The play on arresters — though weaker

— took place nevertheless, this important result showing that waves 3—4 miles long could produce these e.m.f. sufficient to cause the sparks to pass between the plates of the arresters. Now it is important to consider: is the earth a nodal region or the crest of a wave (that is, the region immediately adjacent to point of attachment of secondary to ground).

 

If a nodal region then the e.m.f. set up at the small distance of 60 feet separating the point of attachment and the ground of lightning arresters was only a small part of the total e.m.f. But if a crest then the e.m.f. set up and causing sparks was nearly the total e.m.f. produced by the apparatus. If a nodal region near the point of attachment of the secondary, then at a distance of about 4000 feet there must be a strong effect, but if a crest, then at that distance there would be no effect. This is to be decided by further observations.

 

The connection was now changed to that indicated. It was thought that both vibrations would cooperate and produce a stronger effect, but it was at once evident that so long as streamers (which were about 10 feet) formed on top of the extra coil the effect must be smaller, since all energy came from the secondary and the streamers caused loss. A condenser ought to be used instead of a gap to make such an arrangement most economical.

 

Although owing to nodal point the length of spark in adjustable gap was small, the display was strong on arresters, but not nearly as strong as when the extra coil was entirely left off. In the latter case the action was very rigorous so that often flames would form on arresters showing short circuit of dynamo. Also the other choking coil would break through. Evidently then the extra coil did not in this instance prove useful in intensifying vibration contemplated.

 

Experiments continued: extra coil was now lowered 2 feet nearer to ground, distance now being about 4 feet from floor and 5 feet from ground.

Capacity 5 2/3 tanks on each side in primary. The transformer (W. Co.) works very well (22,500 volts). The lamps go up 35—40% when the arc does not break through, the gap being made large for this purpose, and when the arc breaks through they still rise slightly above normal.

The gaps outside 1 1 /4" each approx. Inside 1 1 /2—2 turns. Streamers produced were still more powerful being made so owing to approach of secondary. They would dart out to a distance of 12 feet sometimes.

Important. Strong arcing on arresters, although no spark would pass to the ball used before, which was placed at a distance of about 9 feet. Could the sparks be produced by static induction upon wire through the air and not chiefly by conduction through earth?

 

To test this a coil 50 turns referred to before was inserted in the ground wire of the lightning arresters. It was expected that it would weaken discharge across, but did not probably because the current was small and the choking action likewise for this reason.

To see whether there is some current passing through the earth wire to the line, another coil was placed in inductive relation to the ground wire coil and strong sparks 3/8" were obtained on former. Sparks, lively 3/8" approx., were also obtained from coil P. Note: Sparks to ball sometimes, at other times streamers would dart past the ball. The streamers horizontal when sudden, when switch was held longer they would waver. In last experiments only half of wire circle on top of spool was used.
 


Colorado Springs
Aug. 27, 1899

Older plans experimented with and modified arrangements of apparatus for wireless telegraphy further considered.

These connections used to relieve the sensitive device from the strain of the battery after excitation. The necessity of doing this leads to the reconsideration of an old plan experimented with in New York which consists of placing the sensitive device between condensers in circuit so that each time only one current impulse can pass through the device.

This is illustrated in a general way in the little diagram below. The battery strains the device a through the condensers C Ct but when, upon the device a becoming excited, the condensers are suddenly charged the current impulse caused by the charging automatically stops. It is then necessary to reverse the mains, or discharge the condensers to make the apparatus ready for a second operation. This plan allows use of very high pressure on the sensitive device which should be of great resistance.

Plan in last diagram illustrated consists of raising, by means of inductances l l1 condenser C and break device d, the e.m.f. of battery B so far as needed to bring the device a to the point of nearly breaking down. The quantities should for a better result be adjusted as usual. Both relay coils R R and inductances l l1 are placed symmetrically.

 


Colorado Springs
Aug. 28, 1899

Experiments with oscillator, secondary 29 t. in series with extra coil before used (160 t) were continued tcday and showed the following: Capacity in primary being from 5 2/3—8 tanks on each side, varied to observe shifting of nodal point, play on arresters and behaviour of streamers and spark discharges.

A half circle of bare wire on top of extra coil was left and in addition a larger half circle of bare copper wire (No. 14) was supported on wooden strips 4 feet below the former half circle. Both the bare wires were connected to the free end of an extra spool. The lower half circle was 9 1/2 feet away from a circle of the same bare wire which was supported on oscillator secondary frame and formed the terminal of the secondary.

 

Abundant sparks and streamers were produced. The play on arresters was also observed at each throw of the switch. The rain and lightning were just beginning. Magnificent intense white light witnessed below Pike's Peak, something very unusual. It resembled a white hot silver furnace. The lightning on the mountains was very frequent and the discharges of unusual brilliancy. Twice a curious phenomenon was noted. Lightning striking in one part of the mountains from cloud to earth, there was seen in another part a few miles away from a high peak a lightning discharge which to all appearances came from the peak to the cloud.

 

The discharge was much thicker at the root and branched out towards the sky spattering itself in many branches and disappearing in fine streams. The astonishing phenomenon was witnessed a second time and subsequently, though there was much uncertainty about the direction in the latter cases; a few times a similar discharge took place from other peaks. Is it possible for a discharge to go from Earth to cloud? As far as the visual impression is concerned there can be no doubt.

 

The discharge in all cases followed a preceding lightning discharge in another region, and apparently from cloud to earth.

 

Perhaps it can be the effect of an intense vibration started by the first discharge which results in another discharge towards an oppositely charged cloud. The clouds were unusual in configuration and grouping. A large portion of the sky was quite clear. The wind at times was very strong. An instrument by its constant play indicated strong electrical disturbances through the earth, even when there was no display of lightning as far as could be seen or heard.

After some time the experiments were continued and presently it was observed that the usual sparking on the arresters was no longer to be seen when the switch was thrown in. The only change made was to take the upper half circle off leaving only the lower one.

 

This gave a smaller streamer surface and consequently longer streamers. The display was fine. In order to see whether the upper half circle of bare wire was responsible for sparks on arresters the wire was replaced but still no result. Then it was thought that other causes for the sparks not appearing were responsible and everything that could have the slightest bearing upon this was investigated. Still nothing was arrived at. The sparks did not appear no matter what change was made in the adjustment of the vibratory circuits. What could be the cause?

 

The only explanation at present is that the roof was rendered slightly conducting (although there was little rain in this locality) and that this produced the change. Important to find out. Observation: The lightning lighted two houses about two miles away.
 


Colorado Springs
Aug. 29, 1899

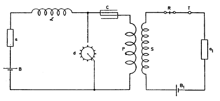
Experiments were made with receiving apparatus comprising an oscillator with mercury break and two devices of the kind before described. The oscillator was of a later 2000

pattern, mercury break by 2000 rev. per minute gave x 24=800 breaks per second, 60 there being 24 teeth in the pulley. The condenser in the instrument was 1 mfd. approximately. The instrument was used as a sender and the experiments were intended to test its efficiency as a receiving apparatus.

 

Accordingly, the connections were made as in sketch, the method of magnifying by oscillating transformer being made use of to increase sensitiveness. As far as practicable all connections and parts of instrument were used.

The connections of primary circuit including break remaining the same, only a battery B. (1—4 cells dry O.K.) and sensitive device a being inserted instead of a generator. In the high tension secondary were connected a receiver R (relay), telephone T, battery B, and another similar sensitive device a1. The motor was driven from a small direct current generator which in turn was driven by the alternate current motor usually employed to drive the break disk of the large oscillator. This apparatus was extremely effective, merely the addition of small capacity on a was sufficient to make the receiver respond. Evidently this effectiveness is due to the efficiency of the oscillating transformer and excellent working and high frequency of the mercury break.

Experiments were continued for a short while with oscillator and extra coil. The frame of the secondary was repaired and a board for connections of the transformers put in place and other work took most of the day, it being late when the investigation was resumed. A netting of wire gauze (iron) had been placed around the opening of the roof to diminish danger of inflaming the building.

 

But on the first throw of the switch the streamers and sparks darted against the netting a distance of about 12 feet and sparks were seen to go from netting on to the wooden structure of the roof. It was advisable to stop work and the roof was removed. Now the ball on top of the extra coil was connected to the latter by a wire No. 10,40 feet long, very heavily insulated with tape over the rubber covering.

 

One turn on the outside and nearly another complete one in the inside were made and the end of the wire connected to the ball. The latter could not be lifted up and the experiment was tried with the ball in place. The streamers now appeared on the ball copiously when the current was turned on, their tendency being to go straight up into the air.

 

The longest were only about 4 feet as it was deemed unsafe to strain the apparatus higher until further provisions for safe working were made. The lightning arresters were observed but no sparking. This showed that the absence of sparks was not due to rain or moisture as was concluded yesterday, since the weather was very warm and dry.
 


Colorado Springs
Aug. 30, 1899

Experiments were resumed with resonating coil to be used in connection with receiving apparatus. The coil was wound a week before on a drum 25 1 /4" diam. of bicycle hoops and a thin board, the idea carried out before in New York being followed to make the drum with coil serve, at the same time, as a table for instruments. The drum was 3 1 /2 feet high, only partially wound on upper part.

 

The wire was ordinary magnet wire No. 20, 516 turns. The self-induction was approximately calculated from the following data: diameter of drum 25 1 /4" or 64 cm.; length of wound part 20" or 50.8 cm.

The coil was now tuned with oscillator in response to a somewhat higher note with small capacity on free terminal, the other being connected to the water pipe. Sparks of 3/4" were obtained while from the water pipe alone a very minute spark, scarcely perceptible, could be obtained. Induction from primary being carefully eliminated, the sparks were still 3/8" long and white.
 


Colorado Springs
Aug. 31, 1899

Experiments were continued with the extra coil and secondary conditions as before. The ball in the center was connected again to the top of coil and elevated a little above the roof, the latter being opened as wide as possible. The experiments were begun in the afternoon while the Sun was very bright. Scarcely any streamers from the ball could be seen but occasionally sparks would go to the roof from the center wire leading to the ball.

The distance was 12 feet. There was a pronounced tendency in the sparks to fly to the roof which might have been due to dampness of the latter owing to rain the day before. During the few trials which were cut short because of the danger threatening from the sparks, the lightning arresters were observed but no spark was noted. In the forenoon the mains were tested and it was found that one of them was fairly grounded which to some extent also made the other defective. This probably was the reason why the sparks no longer appeared on the arresters.

A number of curious observations were made during the trials with the elevated ball. A fly was seen to light on the top of the ball and when the switch was thrown in the insect disappeared evidently thrown off with great force. Another such insect alighted on the under part of the ball, and the current being thrown in just about at the moment when the fly started off, the fly was seen to fall from a distance of about one foot from the ball straight down to the floor, evidently killed in the flight.

 

Still more curious it was to see a moth at a distance of fully eleven feet from ball, near to the wooden frame fall straight down as the switch was thrown in. The strongly electrified ball evidently exercises a strong attraction on a small insect which is drawn towards it every time the ball is electrified. This was repeatedly tried.

An observation less amusing but more useful was that when the ball with its circuit were well tuned and no streamers appeared, owing to good insulation of leading cable — there was a decided tendency to break the jars in the primary. Evidently, when there are no streamers the vibration is effected with lesser loss and hence there is a great rise of e.m.f. reacting upon the primary. This at least appears the most plausible reason for the phenomenon observed.

Light seems to interfere decidedly with the streamers from ball and wire and it is also unmistakably noted that the noise of the discharge is lessened when the sunlight falls upon the apparatus.

Spark gaps were established in a number of ways as by connecting both coil and secondary to ground and each to one of the balls and establishing a spark gap between the latter.

Finally the ball was again connected as before and elevated, a point being first placed on top to facilitate formation of streamers. It was curious to observe that the streamers were carried away horizontally, and eventually blown out by the wind. The resonating action was strong but the length of the streamers could not be estimated. From the leading cable the discharge would sometimes leap to a distance of at least 10 feet. The action of the wind suggests the idea of preventing the formation of wasteful streamers by a current of air.

 

Back to Contents