Colorado Springs
Oct. 16, 1899


Inductance of secondary modified by winding another wire No. 10 in multiple with the first. All other particulars remaining:

This is closely agreeing with first measurement of a few days ago, the difference being only 1/10%.
 


Colorado Springs
Oct. 17, 1899


Structure for capacity of extra coil, for investigation of earth vibrations chiefly.

This structure was erected on a pole 10"xl0" square,- tapering on top. Dry fir was used because of toughness and also resinous quality. Pipes of steel of diameters 7", 6", 5", 4", 3 112", 3", and 2 1 /2" were used. They were shoved one into the other and riveted, four rivets were used on each joint, the lap being 2'.


On the top was supported a ball of 30" diam. hollow wood covered with tin foil very smoothly and the joints indented so as to have no conducting points sticking out. The joints of the pipes, heads of rivets, etc. were all covered first with sheet rubber pure and then Nipples on top with tape, the latter being finally fastened with strong cord.

 

The ball was shellaced several times and finally covered with weatherproof rubber paint. The pole all along was also painted with the same paint. On the lowest end of 7" pipe a cap was screwed clearing the wood so as to make it more difficult for the streamers to get to the ground along the pole.

 

* To prevent lateral play 8 champagne bottles set in beams were used.




Colorado Springs
Oct. 18, 1899


For special investigations particularly to prosecute further researches on the increase of capacity with elevation, a new coil is to be constructed as nearly as possible to exact dimensions which follow:

  • diam. of core 14"=35.5 cm

  • length of core 8x 12"=243.84 cm.

The coil is to be wound with cord No. 20, before used in the coil of 404 turns on 25.25" diam. drum.

Allowance for thickness of insulation: 0.354 cm. This makes total diameter */=35.854 cm.

For approximate value of the surface of one loop we have then S=1000 cm. sq. There should go on this length 689 turns and this would make

For the purposes contemplated this coil will be well adapted as the self-induction is large and owing to small diameter of the core and great thickness of insulation the capacity should be comparatively small. With this coil balls of 18" and 30" diam, are to be used:

Exact diam. of core should be 14.0485"=35.6825 cm. for S=1000 cm. sq.
 


Colorado Springs
Oct. 19, 1899


Experimental coil before used in investigating propagation of waves through ground. This coil was rewound and presently following particulars are good.

 

Outside diam. of core=10 3/8"=10.375"=26.3525 cm. Turns 550, No. 18 B. & S. wax covered, thickness of one insul 14"/1000, length of core l =407/8"=40.875"=103.8225 cm.

This coil is now to be also used in investigations of the variation of capacity with. variation of Height. With ball of 18" diam., the capacity of the ball assuming to be: [18"= = 18x2.54=45.72 cm]—C=22.86 cm, the period of the system, neglecting for the present the distributed capacity of the coil, would be approximately:

or n = 223,540 per sec. approx.

 

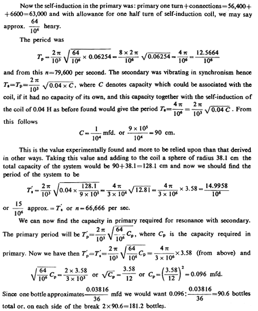
In a test resonance was obtained with 42 bottles on each side of the break, that lis 21 bottles total or 0.0229 mfd capacity in the primary, which consisted of 6 turns of heavily covered wire No. 10. As it was inconvenient to measure the primary, Lp was estimated to have a self-induction of:

This is a convenient and good method but the period must be exactly ascertained. The distributed capacity can never be neglected.
 


Colorado Springs
Oct. 20, 1899


To ascertain the effect of internal capacity of the coil of 404 turns repeatedly referred to, which was used in the experiments on influence of elevation upon capacity of a conductor, the coil was tuned alone with only a short length of wire attached to it. Resonance with primary was obtained with 118 bottles on each side, one primary turn.

For future reference the tanks as used are indicated in diagram. The total capacity in primary was therefore 118/2=59 bottles. Since one tank, that is 36bottles, equals 0.03816 mfd the capacity was 59/36 x 0.03816 = 0.06254 mfd.

This would suppose that the ball could have a capacity of 38.1 cm but this is physically impossible since it would have to be removed from all objects.

 

In reality its capacity will be always much greater and the system will vibrate much slower as a rule. In fact, the test showed that resonance was attained with the ball 10—18 feet from the ground with all bottles in and in addition 5 1 /2 turns in the self-induction box.

 

The tuning was naturally not sharp as the capacity was large and the maximum appeared to be with the ball 10—18 feet from the ground. To get sharper tuning a smaller ball of 18" diameter was used and now resonance was obtained with the ball 10 feet from the ground and all bottles in and no self-induction in the regulating coil.
 


Colorado Springs
Oct. 21, 1899


To ascertain the value of connections in terms of turns of the regulating coil and for other purposes the coil before described, 404 turns with rubber wire attached, was tuned for three different values of the regulating turns. The method was one frequently used in New York and is illustrated in the plan shown.

One end of the coil was connected to that end of condensers, or respectively to that end or terminal of transformer which was grounded and the rise of potential of free terminal of tuned coil was observed by an adjustable spark gap. In this manner very close adjustments are easy.

 

The resonating condition indicated by the longest sparks in the adjustable gap was secured with the following three values:

Now L1 and L2 should be exactly measured; resonance method will probably suit the purpose best. This is to be more rigorously carried out. In the experiments before described, for the purpose of ascertaining the influence of elevation on the capacity of a sphere, the latter was connected to the coil of 404 turns by means of a wire No. 10 heavily covered with rubber (3/8" wall).

 

Evidently this wire affected the period of the system and to ascertain to what extent, the wire was placed in the same position as when used in the experiments with the ball at its lowest position — 20.66 feet from the ground. The sphere was omitted but the streamers on .the end were prevented by sealing the end with wax, covering with tape and sticking the end of the wire into a glass bottle with very heavy walls.

 

Resonance was attained with (6 x 36)—2 bottles on each side and 21 turns in the self-induction regulating coil. This was 214 bottles on each side or 107 total. In making the test the primary turn of the oscillator, usually connecting the two coatings of the condensers on the bottom, was left off and the coatings joined by a short wire. The total self-induction in the primary circuit was therefore the 21 turns of the regulating coil plus the connections, or from previous figures 100,800+ +6600=107,400 cm.

 

Now in the test of Oct. 9, with the ball connected to the cable, resonance was obtained with 4.66 tanks on each side or 4.66x36=168 bottles approx. The total self-induction was 21.5 turns of regulating coil+1 turn primary + connections= 103,200+56,400+6600=166,200 cm, both values from calculated data.

 

Had the self induction been the same we would have had instead of 168 bottles 166,200/107,400=260 bottles. 107,400 Thus with the sphere the capacity in the vibrating secondary system was increased by 260 130 the ratio or 260/214 or 130/107.

This was the capacity with the cable comprised. But before we have found the capacity of the coil alone, with no wire attached, 90 cm or nearly so.

 

The addition of the rubber cable made therefore a considerable difference. It would not have been so high had the streamers been entirely prevented but despite the wax and glass bottle there was a leak which had the tame effect as if the capacity had been increased. Since by adding the ball the capacity



Colorado Springs
Oct. 22, 1899


One of the upper terminals of the condenser (+ ) usually connected to the ground was joined to the lower end of the coil of 689 turns, the upper end remaining free. The ground was in this case omitted for the purpose of securing a higher initial excitation. The maximum rise was ascertained by an adjustable spark gap as shown.

 

The results of the tests are given in the table below:

The spark was getting longer because the efficiency of the exciting circuit was increased, as the inductance of this circuit was increased and capacity diminished. There were smaller frictional losses and after each break the system vibrated longer and excited the coil better.

The short stout wire was now substituted by each of the two primary turns separately and joined in multiple with the results indicated below:

In order to get useful data as to the self-induction of the connections and also of the various turns of the regulating coil which were most frequently used in the experiments, tests were made as follows. A coil still to be described, built for a special purpose, was used (689 turns, drum 14" diam., 8 feet long) and was excited from one terminal of the condensers, as indicated in the sketch below.

 

The coil had a definite period which was ascertained with all condensers in and the least possible self-induction; the condensers were taken out and more turns of the self-induction coil inserted until resonance was again attained. Since the period was in all instances the same the self-inductance of the circuit was thus varied inversely as the capacity.

 

When all self-inductance or nearly so was taken out and only the connections remained by a simple ratio between the known capacities and a known inductance, the inductance of the connections was given, or else this quantity was ascertained from the known period which was maintained throughout the experiments (that of the coil before referred to). The lower ends of the condensers, usually joined by the primary, were connected by a short stout conductor of inappreciable resistance and inductance.

The method used in the experiments recorded today for determining experimentally the inductance of the connections is very convenient and secures good results.

The coil used in the experiments was one of very high self-induction to make the tuning very sharp and it was wound on a drum of relatively small diameter to reduce internal distributed capacity. This likewise improves the sharpness of the adjustment. It was easy to detect variations of one sixteenth of one turn of the regulating primary coil.

 

From the preceding data, calling / the inductance of one turn and /, that of 22 turns, and C the capacity in the primary when 1.125 turns were used and Q that when 22 turns were employed, we have, since the period was the same:

From this the inductance of the connections would be=8040 cm, or-8000 cm. approx. It would be desirable, however, to eliminate the turns of the coil and so estimate the inductance of the connections directly.
 


Colorado Springs
Oct. 23, 1899


Experiments to further ascertain the influence of elevation upon capacity.

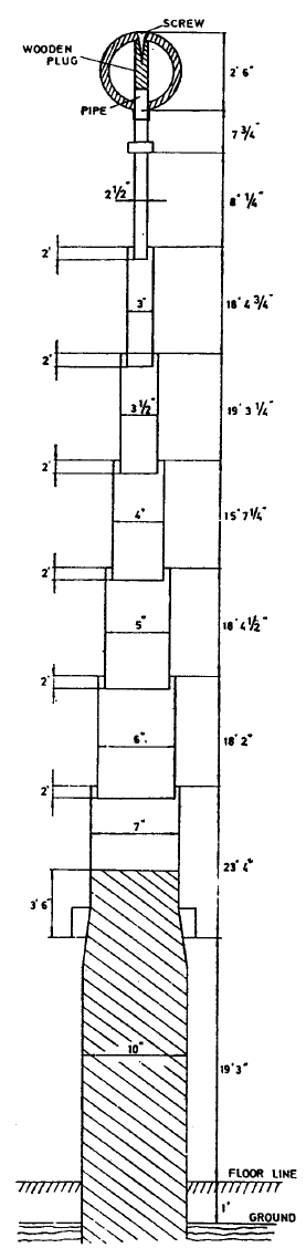
The coil referred to on a previous occasion was finished with exactly 689 turns on a drum of eight feet in length and 14" diam. The wire used was cord No. 20 as before stated so that the approximate estimate of self-induction and other particulars holds good. The coil was set up upright outside of the building at some distance to reduce any errors due to the influence of the woodwork. From the building extended a structure of dry pine to a height of about sixty feet from the ground.

 

This framework supported, on a projecting crossbeam, a pulley (wood) with cord for pulling up a ball or other object to any desired height within the limits permitted and this beam also carried on its extreme end and-close to the pulley a strong glass bottle within which was fastened a bare wire No. 10, which extented vertically downward to the top of the coil.

 

The bottle was an ordinary Champagne bottle, from which the wine had been poured out! and the bottom broken in. It was forced neck downward into a hole bored into the beam and fastened besides with a cord. A tapering plug of hard wood was wedged into the neck and into this plug was fastened the wire. The bottle was finally filled with melted wax.

The whole arrangement is illustrated in the sketch shown in which b is the bottle with wooden plug P supported on beam B also carrying pulley p, over which passes the cord for pulling up the object, which in this case is shown as the sphere C. The spheres used where of wood and hollow and covered very smoothly with tin foil and any points of the foil were pressed in so as to be below the surface of the sphere.

 

This is a necessary precaution to avoid possible losses by streamers when the sphere is charged to a high potential. It is desirable to work with strong effects as the greater these are the better the vibration can be determined, but it is necessary to carefully avoid losses and errors owing to the formation of streamers.

These have the effect of increasing the apparent capacity so much that a thin wire may often produce results comparable to those obtained with large capacities. The streamers, of course, cause frictional loss and thereby diminish the economy of the system and impair the quality of the results. They also cause a loss of pressure just as leaks in air on water pipes.

 

The ball to be tested or any other object was provided with two metallic bushings, on contacts c c, consisting of small split brass tubings which were in good connection with the conducting surface and also insured contact with wire w which at the same time served to guide the ball in its up and down movement.

 

To avoid losses the bushings did not project beyond the surface of the ball and for the same reason the cord was not fastened to a hook but a hole was drilled into the ball, the cord with a knot on the end was slipped in and a wooden plug driven into the hole, so that nothing was sticking out capable of giving off streamers or causing leaks into the air. In the first series of experiments a ball of 18" diameter was used. The ball was not perfectly round but the error due to a slight irregularity of shape was very small.

 

The plan of connections is shown in the sketch in which the same letters are used to designate the same parts of apparatus as before. The excitation of the coil was effected by connecting the lower end to one of the terminals of the condenser — the one which was connected to that end of the secondary of the 60,000 volt transformer which was in connection with the tank. The tank, as described on a previous occasion, was usually connected to the ground but in these first experiments the ground connection was omitted to secure stronger excitation.

 

From the terminals of the coil two thin and heavily insulated wires were led to an adjustable spark gap s which was manipulated until the maximum rise of potential on the coil was ascertained. The two sets of condensers were joined by a stout short wire W of inappreciable self-induction and resistance and the inductance of the exciting circuit was varied by inserting more or fewer of the turns of the regulating coil R Into the circuit through which the condensers were periodically discharged.

 

The wires leading from the coil to the adjustable spark gap s were, as before remarked, very thin, as short as it was practicable to make them and heavily insulated. By observing these precautions the error due to the capacity of these wires themselves was reduced to a minimum, also the loss owing to a possible formation of streamers. To reduce the capacity the wires were led far apart and then brought in line to the spark gap.

 

The lower wire, which was connected to a point of comparatively low potential was of little consequence but on the top wire these precautions were imperative. The procedure was as follows: first the period of the coil L and capacity attached to the free terminal was ascertained by varying the capacity or self-induction, or both, of the primary or exciting circuit until resonance was reached which was evident from the maximum rise of potential.

 

When the period had thus been determined with the capacity, say a sphere, in one position, the position of the body of capacity was varied by shifting it to another place along the wire w and the adjustment of the primary circuit was again effected until resonance was reached, generally by simply varying the length of wire of the regulating coil included in the primary circuit. Now as the self-induction of the coil L remained the same through all experiments, the apparent capacity could be easily determined from the self-induction and the known period of the primary or exciting circuit.

 

By keeping the capacity in the primary circuit the same or, eventually, (he self-induction, the procedure was simplified and the capacity in the system including coil L was then at once given by a simple ratio, as in some cases previously described. It was preferable to vary the self-induction as the change of this element could be effected continuously and not step by step, as was the case with the capacity.

The apparatus being arranged as stated, the lowest position of the ball of 18" diam., which was first used, was 9' 5" from center of ball to ground and the highest 58' 9".

To ascertain the period of the system L the vertical wire was first disconnected and only the spark wires left on, then the vertical wire was connected and the period again determined by adjusting the primary circuit, then the ball was placed in its lowest position and finally readings were taken with the ball at various heights up to the maximum elevation.


The results condensed were as follows:

It was desirable to take some readings with all the bottles in and the results were nearly the same and could still be read off with fair exactness, although the variation on the regulating coil R was reduced to one half, the capacity in the primary being just double that used in the experiments the results of which were just given.

The readings with all the condensers were as follows:

Note to above experiments: The vibration of the coil L with vertical wire and spark wires was found to be in resonance with the primary in another series of observations with

142 bottles                   18 3/4 turns+connections

whereas before it was found to be so with 18 3/8 turns. When the different value.18 3/4 turns was observed the wind was blowing hard and it would seem as if this would-have had the effect of increasing the apparent capacity of the aerial vertical conductor. This is to be followed up.

The experiments seemed to demonstrate clearly that the augmentation of the capacity as the ball was elevated was in a simple proportion to the height, for at the middle position the value found was very nearly the arithmetic mean of the values in the extreme positions.
 


Colorado Springs
Oct. 24, 1899


Tests continued on the effect of elevation upon the capacity of a body connected to earth. ~~ The same coil was used as in the tests just before recorded, but the ball of 18" diam. was substituted for by one of 30" diam. These readings were in all probability closer as an improvement in the procedure was made.

 

The results were as follows:

Note: After these readings had been taken it was found that the ball sliding on the vertical wire did not make a good contact. This might have modified the results slightly.
 


Colorado Springs
Oct. 25, 1899


Experiments on influence of elevation upon capacity of conductor connected to earth continued:

This time simply a wire No. 10 extending vertically in the continuation of the axis of the coil was used. The coil was the same as before, 689 turns No. 20 cord on drum of 14" diameter. 36 feet of wire were first taken and after each reading 3 feet were cut off. Each time resonance with the primary was attained and the constants of the primary circuit noted, this giving the necessary data for the determination of the capacity of the vertical wire.

 

The results are indicated below:

These readings are approximate.



Colorado Springs
Oct. 26, 1899


Measurement of inductance of 689 turn coil used in investigations on influence of elevation upon the capacity of a conductor.

Readings were as follows:

This is a value slightly smaller than that calculated before. Readings were also taken with small dynamometer. This slightly damaged. The readings are to be revised upon restandardizing.

Note: This value is decidedly too low owing to dynamometer indicating too large a current. Possibly during the test ω had changed.
 


Colorado Springs
Oct. 27, 1899

 

Test of condensers some of which were recently refilled. The corrections for capacity to be applied to the work of about two weeks ago.


Readings with 7 cells battery showed for one half

The difference between the two sets is probably due to different heights of solution in the tanks or bottles. In these measurements there were two bottles less on each side in the central tanks.

Taking the above data, the total number of bottles when all were in quantity was (16x36)—4=576—4=572 bottles. 104

The capacity was 104/101 x 0.5=0.515 mfd approx. This would give



Colorado Springs
Oct. 28, 1899


Referring to the preceding results the period of the excited system without the vertical wire was as follows:

Now calling C the capacity of the excited system with only the spark" wires, L the self-induction of the excited coil, before found to be L=0.024 H, we have for the period of the excited system:

Calling presently C1 the capacity of the excited system when the vertical wire was attached, we have by similar reasoning from

The calculated value is a little larger but not much, well within the errors of the adjustment and determination of the quantities by experiment.

Continuing we see that when the ball was at its lowest position the period of the primary was as follows:

The ball at the lowest position effectively contributed only

C'— C1 = 163.66—155.76=7.90 cm

but this low value was probably due to the fact that the vertical wire extended above.

Calculating similarly the value of C", that is the capacity of the excited system when the ball was highest:



Colorado Springs
Oct. 29, 1899


Experiments with coil 689 turns on drum 14" diam. were again continued to further study the influence of elevation upon capacity.

The same arrangement was used which was described on a previous occasion with vertical wire and ball 30" diam. The excitation of the coil was effected by connecting it to one of the terminals of the condensers, that which was joined to the terminal of the Westinghouse Transformer which was in connection with the tank — but the connection of the latter to the ground was not made directly but through a spark gap 1 /8 " long.

The spark wires leading to the spark gap, serving to observe resonant rise, were No. 26 gutta-percha coated and each about 25 feet long: It was really only the upper wire leading from the free terminal which was of importance to consider. The vibration of the coil was first ascertained, nothing except the spark wires being attached. Next a sphere of 30" diam., the tin foil of which was cut through with a sharp knife to prevent formation of eddy currents, was connected to the top of the coil and the vibration again determined.

 

Then the vertical wire was put on and the sphere taken off. After determining the vibration with the vertical wire the sphere was slipped on the same and readings taken with the sphere at different heights. The results were as follows:


Readings with ball of 30" diam., vertical wire and spark wires connected to coil.

In these experiments the excitation of the coil was varied by adjusting the small spark gap separating one terminal of the Westinghouse transformer from the ground. The tuning was not very sharp as the ball was large and the magnifying factor of the coil rather small.

 

Taking n approx. 60,000 we have p=360,000 approx., R=28.3, L=0.024 we have for pL/R value . Not so small after all. It was desirable to take some readings with the self-induction in the primary remaining the same, the capacity only being varied.

Following results were obtained:


These data are to be worked out.
 


Colorado Springs
Oct. 30, 1899


Measurement of Inductances

The primary of the oscillator, regulating coil and connections to spark gaps and condensers as generally used were joined in series, the gaps and condensers being bridged y short pieces of wire No. 2 of inappreciable resistance. The object was to determine again: le inductance of the primary turns of the oscillator, of the regulating coil for the various turns as employed and also of the connections. The two primary turns were joined in series and readings taken across both to get better values.

The generator, a 1500 light machine smooth armature Westinghouse type, was specially run, the speed being kept constant. The frequency was determined as before by taking le speed of synchronous motor running without any load and with strong excitation of field. There was no slip under these conditions as frequently ascertained.

 

The average speed was very closely 2070 per minute on a motor which was a 4-pole, this giving 8280 cycles per minute or 138 per second. From which ω=867.

The connections as used are shown in diagram below:

The connections were all left exactly as used generally with the exception that, as before stated, le gaps and condensers were ridged by short pieces of wire No. 2.


Readings for: two primary turns, regulating coil 23.5 turns and all connections in series:

Readings were also taken across each one of the primary turns, the e.m.f. of course being exactly one half but the e.m.f. across the upper turn was slightly greater, probably because of the greater distance from the ground, possibly because of being nearer to the open secondary.

To get better readings for the separate turns of the regulating coil the voltage, was taken again as first across the whole: 2 primary turns, connections and regulating coil all in series and the turns of the latter were then varied, readings being taken for each case. The results are indicated below:

To facilitate estimation of the inductance of the various turns the readings were reduced to the same value of current and are as follows:



Colorado Springs
Oct. 31, 1899


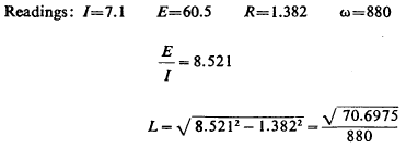
Measurement of inductances: New coil for further investigating effect of altitude upon capacity of body connected to earth.

The drum of 14" diam. and 8 feet long was again used, the cord No. 20 being taken off and wire No. 10 rubber- covered used instead. Most of the data from before remained, only the number of turns was reduced from 689 to 346.

The readings of e.m.f., current and frequency were as follows:

Back to Contents