Field Propulsion Saucers

The existence of World War Two German field propulsion flying saucers is a topic which is denied by virtually every reputable authority in aviation history. It is also denied by many researchers studying German saucers. The problem is that in the years immediately following the Second World War the earth's skies suddenly began to be populated by flying craft which did some remarkable things. They flew at unheard of speeds. They made very sharp turns, seemingly non-aerodynamic turns, even at this extreme speed. They lacked the glowing tail of jets or rockets but they glowed or gave off light at night from their periphery or from the whole craft. They were silent or almost silent. Sometimes they gave off sounds that an electric generator or motor might make. Sometimes vehicles with electrically based ignition systems ceased to operate in the presence of these saucers. No government claimed these flying craft, yet they were seen all over the world.

The press and popular culture attributed these unusual craft to an extraterrestrial source. Yet, after over fifty years, no real proof for this assertion has ever come forth. Let's come back down to earth. By all accounts these saucer were solid and material in nature. Perhaps it is time to attribute their orig into a solid, material source.

It seems only proper to begin searching for an explanation for field propulsion saucers with the very sources which we now know built conventional flying saucers, the Germans of the Third Reich. The earliest reference to a field propulsion saucer being a German invention is from a 1960 book by Michael X in which it is described as a "flying egg" (1). Michael X., under the name Michael X. Barton, is also the author who, in 1968, wrote The German Saucer Story. In the second book returns to the theme again (2). This time he cites a source. His primary informant, Hermann Klaas, describes twelve secret weapons to Barton. They are:

  1. The flying disc
  2. A tank made entirely of one piece of metal
  3. The sound wave weapon
  4. A laser beam weapon
  5. A flaming artificial cloud
  6. A robot bomb
  7. A charged cloud weapon
  8. An armor piercing projectile
  9. The electromagnetic KM-2 rocket
  10. A paralyzing ray
  11. Electronic ball lighting
  12. The flying bottle, tube, sphere, etc.

Thirty-two years later we certainly know that some of these weapons did exist. It has been confirmed that the Germans were working on weapons numbered 1, 2, 3, 6, and 8 for instance. It has been confirmed that the Germans were working on x-ray or gamma ray weapons as well as another type, possible laser weapons. It has been confirmed that the Germans were working on a gaseous cloud as a means of combating enemy bombers. So in view of this track record, his claim of research on a "flying bottle" should be given serious consideration.

But what is the specific evidence which would cause us to believe that the Germans were working on a field propulsion saucer? As one paws through the literature on German saucers, some evidence is encountered which could indicate field propulsion vehicles. There are the still pictures which will be discussed later on.Here, we will focus on just three pieces of evidence, that of an eyewitness, a German pilot, who saw such things on the ground, a Combined Intelligence Objectives Sub-Committee report and an

F.B.I. report. The F.B.I. report was taken years after the war but for reasons which will be discussed, there is reason to conclude this report has merit.

German Eye Witnesses

The first report comes to us courtesy of researcher Horst Schuppmann. A friend of Mr. Schuppmann's interviewed an eyewitness to German saucers during the Second World War. This report first appeared in the 1998 Geheimtechnologien.Wunderwaffen Und Irdischen Facetten Des UFO-Phaenomens by Karl-Heinz Zunneck (3).

The subject of this interview was a German pilot who flew many missions in a JU-52, taking off and touching down in rough, presumably outlying airfields. The Junkers JU-52 was an aircraft used by the Luftwaffe for many roles and could be described as a mainstay or a workhorse. It was a transport airplane, a troop carrier and even had been used as a bomber. It resembled and was used in a similar way to the American Douglas Dakota or DC-3.The main difference between the two aircraft was that the JU-52 had three engines as opposed to the Dakota's two and the JU-52lacked a traditional airframe, instead deriving structural strength from a unique corrugated metal shell, which also made the appearance of the JU-52 distinctive.

The sighting in question was reported to the author, Mr. Zunneck, by Horst Schuppmann whose friend knew the pilot of the JU-52 in question. The date was July, 1944. Accompanying the pilot on this three and one-half hour flight was a co-pilot, a mechanic,and the radio man. The airplane took off from Brest-Deblin and flew on a westerly course to Lublin. The flight was unfolding smoothly which was somewhat abnormal for the particular time and stage of the war. Over Stettin Lagoon preparations were made to land. A large white cross was sighted which was the marker for their goal, a meadow landing strip. The aircraft descended, landed normally and rolled toward a group of bushes which would hide the aircraft from view.

Then things took a decided turn to the abnormal. Harsh orders were received that the pilot, co-pilot and mechanic were not to exit the airplane. Suddenly, the radio man had vanished. The others waited an hour in vain for his return. Finally, the pilot decided to get out of the airplane and find his missing crewman,without orders, and on his own.

On the airfield itself nobody was to be seen. There was only one building visible which was a lonely hanger. The pilot, ever concerned with maintaining cover, headed straight for this hanger. Upon arrival he opened an narrow, high sliding door and entered, hoping to receive some information. No person was to be seen but what the pilot did see bewildered him so that the image was deeply ingrained in his mind.

There in the hanger stood three or four very large, round, dark dish shaped metal constructions on telescope-like leg stands. The objects were about 6 meters off the ground and the objects themselves were 12 to 15 meters in diameter. The pilot compared the shape of the objects to a giant soup dish or soup plate.

Suddenly, out of the half darkness a military guard emerged. The guard let the pilot know that he was in an area which was strictly off limits. In fact, the pilot was told, on no uncertain terms, to disappear immediately or this would be his last day on earth.

This day had started as a routine flight connecting two outlying airfields. This pilot had no expectations of seeing something so unusual that he barley had context in which to place it. Further, even as his mind was transfixed and in a process of trying to give understanding to what he was seeing, he was suddenly. jolted out of this tableau by a guard threatening his very life and ordering him to leave.

Of course the question of what those objects in the hanger really were comes back to this pilot even after almost 55 years. The pilot personally attributes it to the so called "Magnetscheibe", literally, "magnet-disk". According to the pilot rumors of these objects circulated in pilot circles since the summer of 1944 (4).

Two things can definitely be said of this sighting. First, it can be said is that this sighting seems to be of the smaller type of German field propulsion saucer as opposed to a larger version.Second, these saucers can definitely be ascribed to belonging to and in the possession of German military forces during the Second World War. At no time in this report has the word "alien" or"extraterrestrial" ever been mentioned or even considered.

Beyond that it can be said that the pilot personally believed these to be of the "Magnetscheibe" type, that is to say not powered by chemical combustion. There reasons to believe this is correct. These saucers were found on a remote and rather primitive airfield. They were in the only building present. This means that they did not need an extensive support system.

The chemically powered jet or rocket engines needed an extensive field support structure. They needed to be refueled after every flight. The two liquid fuels used by the Me-163 rocket-fighter, for instance, ignited immediately when they came into contact with each other with explosive intensity. The fuel tanks had to be washed out after each flight and separate ground crews were responsible for each type of liquid fuel. It is noteworthy that no such support ground support structure or personnel was in evidence on this occasion. All that was observed was a large structure filled with saucers and a guard. The ground support necessary for launch of these craft must have been minimal and argues for the field propulsion hypothesis.

Of course the weakness in this report is the lack of the name ofthe pilot. Even if this report is taken at a minimal level of credulity, it constitutes a rumor of German involvement with field propulsion vehicles.

The reader will recall that the research paradigm being followed is that once mention was made by a German source of a particular thing, then (and only then) corroborating information should besought from U.S. governmental agencies using FOIA.

A Combined Intelligence Objectives Sub-Committee Report

Since we have a German claiming field propulsion saucers we can now follow our research paradigm and search governmental records for corroboration. The Combined Intelligence Objectives Sub-Committee reports are a series of reports compiled by agents of the United States and Great Britain. Most were written immediately after the field work was done. The agents targeted specific things such as sites, people, specific technology or other aspects of specific interest. The agents then wrote a summary report which is what is entered into the record.

As with almost all summary reports at this level, the implications of what is being described are lacking. These reports do not set the particular technology into any context. That is, these reports doe not say how a specific technology under study was to be applied in the future in some, if not most, cases. Behind these reports must be a body of information and at least a few individuals intimately familiar with the technology in question. They were familiar with the technology and the context to which it was useful. If another government operative was interested in that topic or its implications, and if his security clearance sufficed, he would be shown the underlying material and presumably be directed to the particular individual who was its residing expert.

Only slowly, if at all, was this secret science leaked or given to American industry and then only with an appropriate cover-story, one which may even supply a pseudo-inventor of that technology. This is conspiracy at its finest. This deception is beyond the scope of this book but what is important for us now is that sometimes a mistake or slip-up was made in writing or censoring these reports and hints of things of stupendous technological worth actually surfaces. Such is the case with Combined Intelligence Objectives Sub-Committee Report number 146 regarding Dr. Georg Otto Erb and his work which is reproduced here.

Combined Intelligence Objectives Sub-Committee Report #46 Dr. Georg Otto Erb

Dr. Erb was on the cutting edge of several technologies according to this report. None of these technologies was especially exciting in 1946, however. Jets, rockets and atomic energy where the hot-ticket items of the time. Nobody cared about new sources of electrical energy. The USA had plenty of electricity and plenty of oil to generate more. It was also known by then that atomic power could be applied to generate even more electricity. Nobody cared about Dr. Erb's experiments listed under item (iii) "Apparatus for conversion of residual heat into electrical energy" or item (viii) "Electrical sources of energy of various kinds" or even item (ix) "Apparatus for turning the energy of the sun's rays into electrical energy". Since nobody cared about these things, there was really no reason not to list them in the summary report. Their significance would only be realized a generation later during the "energy crisis" of the mid-1970s and by then it was too late to censor the report. One can only wonder where this research would have led if it funding had continued over the next thirty years. Or did it continue in secret?

Of course by now many readers will have already read number and grasped the significance of number (x) "Rearward impulse propulsion for vehs and aircraft". Given the nature of Dr. Erb's other work, it is a safe bet that this "impulse propulsion" was not of the jet or rocket nature. In fact there remains little doubt that this propulsion was, in fact, field propulsion. Dr.Erb was experimenting on means to apply forward motion using rearward impulse propulsion to aircraft and "vehs" (vehicles). If this is not the smoking gun for German experiments in field propulsion saucers, it is at least a hint that there is a gun.

The Smoking Gun: An F.B.I. Report

That is right, Fox Mulder was not the first F.B.I. agent to believe in UFOs. The files in question are F.B.I. file numbers62-83894-383, 62-838994-384 and 62-83894-385. Their date is 11/7/57 to 11/8/57. They deal with a Polish immigrant, then living in the United States, who reported his wartime experience to the Bureau hoping it might throw some light on UFO sightings seen in Texas at about this time.

F.B.I. Reports On A German Field Propulsion Saucer F.B.I. Reports On A German Field Propulsion Saucer

F.B.I. Reports On A German Field Propulsion Saucer

F.B.I. Reports On A German Field Propulsion Saucer

F.B.I. Reports On A German Field Propulsion Saucer

F.B.I. Reports On A German Field Propulsion Saucer

The time of the sighting was in 1944, the place was Gut Alt Golssen, approximately 30 miles east of Berlin. The informant, whose name has been deleted, states that while he was a prisoner of war working for the Germans, a flying object arose nearby from behind an enclosure hidden from view by a 50 foot high tarpaulin-type wall. It rose about 500 feet then moved away horizontally. The only noise the object made was a high-pitched whine. The object was described as being 75 to 100 feet in diameter and 14feet high. It was composed of a dark gray stationary top and bottom sections five to six feet high with a rapidly moving center section producing only a blur and extending the circumference of the vehicle. Notably, the engine of their farm tractor stalled during this event and the SS guards told the driver not to attempt a restart until the whine could no longer be heard.

Because of what I believe is their importance, these files have been reproduced here in their entirety. One of the most compelling reasons for taking this report so seriously is that the government of the United States of America took this report so seriously. It is hard to believe that an agency such as the

F.B.I. would take and retain reports of flying saucers which had no special meaning for them. Add to this the fact that this report was over ten years old at the time it was taken and that it concerns a report originating in another country.

The F.B.I. operates within the USA and usually does not concern itself with foreign matters unless they have meaning for the internal security of the United States. Could the reason that this report was taken and retained for so many years be that it did, in fact, have meaning for the internal security of the United States? Did it have something to do with the flying saucers seen over Texas at the time which also stopped motor vehicles?

As an alternative to the security issues, could there have been another reason that the F.B.I. was so interested in flying saucers? Did the F.B.I. desperately want information on UFOs which was held by the military and other branches of the intelligence community which was not shared with the F.B.I.? It has been rumored that J. Edgar Hoover, head of the F.B.I. at the time, was very interested in learning these secrets but was held"out of the loop". It could be that the F.B.I. was already aware of German saucers through security clearances done on German scientists coming to the USA under Operation Paperclip? The ego of J. Edgar Hoover may have been a factor in the Bureau's guest to learn more on this subject. Hoover may have wanted to be on an equal footing with other intelligence chiefs.

For whatever reason, something in these reports resonated with the F.B.I. The report was taken seriously, investigated and kept. This fact alone speaks volumes for the existence of UFOs in general and German saucers in particular.

Discussion of German Field Propulsion Saucers

Some explanation has been attempted regarding the Schauberger models and the KM-2 rocket. From this point on, the discussion of German field propulsion saucers will move away from the areas

centering around observed evidence and into areas of interpretation. Some of the German flying craft described are flying saucers in the classic sense. The F.B.I. report describes something which moves by non-aerodynamic means and which remains the source of speculation.

At this point, mention should be made of the ideas of some prominent writers in this field. The first of these is Mr. William Lyne of Lamy, New Mexico. Mr. Lyne has written two books concerning German saucers and field propulsion, Pentagon Aliens and Occult Ether Physics. His ideas on the mechanisms of field propulsion remain the best thought out and the most detailed on the subject.

Mr. Lyne lives near the secret weapons testing facilities of Los Alamos and White Sands. These were the places where German weaponry was brought for testing after the war and where the United States tested its first atomic bomb. It is still an area Of secret military research and secret military projects. Then as now, aspects of atomic energy figure in this setting. It is also an area which attracted much flying saucer activity in the late 1940s and 1950s. Mr. Lyne was a child during this period of time and personally witnessed flying saucers as did his family and friends. Later, as an adult, he went about trying to explain mechanisms for the type of flight he had witnessed.

Lyne worked within certain parameters. He rejected the alien hypothesis outright. He realized that flying saucers had to have been made by humans. Since he observed the saucers in the 1940s and 1950s, he knew that any explanation of their workings must be limited to the technology present in the 1940s or earlier. He connected UFO technology to other recently imported technology from Germany while believing both had their origins with Nikola Tesla (5).

Further, there is no mention of intangibles by Mr. Lyne. There are no unknown energies or mystical forces at work. Mr. Lyne stands with both feet on the ground. Things are concrete. Machinery is diagrammed. Matter and energy function as they always have. In reading Mr. Lyne's work one can almost smell the machine oil and the ozone.

Mr. Lyne builds upon the work of Nikola Tesla who developed his unique ideas over many years of experimentation and invention.This basis built upon real world experimentation, testing and application separates Tesla's ether theory ideas from those which will be explored later. Mr. Lyne presents us with an ether theory in which ether is super-fine matter which exists everywhere. It is so fine that it will go through the holes left in ordinary matter (6).

A few words about Mr. Lyne's ideas are necessary to set a context for this discussion. Just as an internal combustion engine can be described as a "heat pump" so can the flying saucer drive of Mr. Lyne be described as an "ether pump". Ether (very fine matter) is attracted to the saucer via an electric field, then pumped through the saucer and out again using the principle of magneto-hydro-dynamic pumping (7). This magneto-hydro-dynamic pumping is related to the Hall Effect. Edwin Hall placed a gold leaf strip in which an electric current was flowing into a gap in a magnetic field. An electromotive force was produced at right angles to the magnetic field and the electric current. This electromotive force was proportional to the product of the electric current and the magnetic field (8).

According to experimentation by Tesla, ether is made rigid with high voltage, high frequency electrical energy (9). The convex shape of the upper half of the saucer projects the electrical attractive force, generated by a specific electronic component,in an ever expanding arch over the saucer. Ether is made rigid and anchors the saucer. This is possible since the total mass ofthe ether caught in the electric field is far greater than the mass of the saucer. Near the surface of the saucer, the "rigified" ether is pulled into the saucer in what Mr. Lyne calls "tubes of force". These tubes of force would be pulled right through the opposite side of the saucer and out if it were not for the blocking force of a second apparatus which nullifies the tubes of force and prevents this from happening. This imbalance is the reason the saucer is able to move (10).

The electrical components necessary for this to take place are,according to Mr. Lyne, a Tesla turbine to supply electrical power and two types of Tesla pancake coils (11).

The Tesla turbine is a wheel-like device which is described in Mr. Lyne's book (12) and elsewhere (13). Mr. Lyne orients this turbine vertically in his drawings but oriented with its flat spinning surface horizontally, this might, perhaps, account for the spinning disc witnessed on some saucers.

The Tesla pancake coils are also described in both sources cited.Mr. Lyne goes further and gives instructions as to their manufacture. One type of pancake coil insures forth a negative discharge of DC energy, tuned to a one-fourth wave length, and is oriented in the desired direction of flight (14). The other type of pancake coil is mounted exactly opposite the first and emits a positive AC discharge which is used to dissolve the ether flow or tubes of force.

Dr. Gordon Freeman, a Fucannelli-like scientist who knows about such matters, has been curious about the abbreviated wave-cycle of the first pancake coil. His position is that one must not only understand conventional scientific theory in order to understand the way a field propulsion saucer flies but one must also understand some concepts which are sometimes labeled "occult". Dr. Freeman has worked out a "common denominator" for some field propulsion vehicles the essence of which he has shared(15). Dr. Freeman's ability to analyze, explain and interrelate physics, engineering and "occult" geometry is only matched by his ability to explain it all on a level we can all understand.

Tesla, Vril And Coler Devices

Top Left: Pancake Tesla coil with the secondary coil insidethe primary. Top Right: The smaller of the Hans Colerfree-energy machines. Bottom: Cut away showing Vril power plant. Was this related to the Schappeller device?

Some individuals see hidden, esoteric or occult knowledge as the inspiration for the breakthroughs the Germans made in field propulsion flying vehicles. Usually coupled with an exotic-theory of UFO origin, it is an equally exotic local from which this exotic theory is said to have originated. We have been presented with this line of reasoning for years in the "UFOs are of extraterrestrial origin" theory. Indeed, some writers see an extraterrestrial origin for German UFOs also as we shall see. But just stating that UFOs are of occult or alien origin is not an explanation in itself. It still begs the question of how they operate. Their method of operation, their technology, must be explained regardless of where they came from in order for the explanation to be a satisfying one.

Returning to earth, another theory is that the German scientists were influenced by some ideas originating in Asia. Tibet and India are the suspects in question. UFOs have been reported over Mongolia, Tibet and India for centuries. The ancient Indian seven claimed to have constructed aircraft which resemble flying saucers. These saucers are called Vimanas. Ancient Indian texts in Sanskrit speak of the flight and manufacture of these saucers. The German "Ahnenerbe", an organization whose purpose is associated with researching Germanic ancestry, sent out expeditions to the East with the express purpose of acquiring ancient, hidden knowledge. This is precisely what Heinrich Haarer was doing, whose book served as the basis for the film "Seven Years in Tibet". This link between flying saucers of the East and the West is suspected as an influence on German field propulsion vehicles (16). The exact connection, though, has never been demonstrated.

A connection which is more certain involves Viktor Schauberger's use of Pythagorean geometry. There is no doubt that Schauberger incorporated this mathematics into his work but what is intriguing is what is said about this body of mathematical knowledge. The story goes that it was the Knights Templar who stumbled upon this knowledge in the Holy Land during the Crusades and it was they who kept and incorporated this knowledge through the use of "sacred geometry".

Both the above mentioned schools of thought lead far beyond the parameters of this book but the reader should be aware of what is said about them and their relationship to German flying discs.

Whether it is called "occult technology" or "conventional technology", in the end, it is just simply technology. And in the end, as Dr. Freeman says, "all machines can be reduced to numbers". What is called by some "occult" might be better called"arcane". This is because this technology, which seems to be the basis of field propulsion, is taught only to certain individuals, technological initiates, who use and need this knowledge for their work on government sponsored black projects. These scientist utilize a technology and understanding which are reserved for their use alone. This knowledge is not taught and not made available to the rest of us. We, the great unwashed masses, are given Einstein and the Theory of Relativity and told that this is the pinnacle of learning. As with all secret information, this arcane knowledge is held on a "need to know" basis. Our government believes that we simply don't need to know. It takes a true genius like Dr. Freeman to recognize this knowledge and set it before us in language that we can understand. It is hoped that Dr. Freeman will publish a book sooner rather than later.

Mention of the "occult" brings us to another line of evidence concerning field propulsion, that put forth by Norbert Juergen-Ratthofer and Ralf Ettl. Mr. Ettl became involved while doing research for a film project on Dr. Wernher von Braun. A film company was paying for this research. A package or several packages of information were obtained by the production company which had more to do with UFOs than rocketry. This information was laid aside by Mr. Ettl but he returned to it after enlisting the help of Norbert Juergen-Ratthofer who had a special interest in that subject (17).

The packages contained breathtakingly clear photographs of German saucers in flight. Some of these pictures may be just models but some look authentic and are posed against a landscape. Nowadays, pictures can be generated via computer and these pictures surfaced within modern times. At least one negative from these pictures which was given to Mr. Vladimir Terziski by Mr. Juergen-Ratthofer and seen by this writer, so at least not all of these pictures were computer generated. The pictures have been seen in public and through video film presentation, for about ten years. To the best of my knowledge these pictures have never been debunked using modern technical photo-analysis. Therefore, they have never been shown to be anything less than legitimate. Until they are shown to be less than legitimate, we must accept them as they are represented to us.

Besides the pictures, these writers provide an entire historical and cultural context for these saucers within the Third Reich, This contest involves secret organizations within the SS. Further, the context provided by these writers involving the occult, channeling, and extraterrestrials. This is the weak point of their presentation since the case for these latter connections is really not strong enough to be "in evidence".

Besides the books of Mr. Ettl and Mr. Juergen-Ratthofer, several other German language writers contribute books on a similar or related theme. The more notable are D.H. Haarmann (18) and 0. Bergmann (19). Mr. Ettl and Mr. Juergen-Ratthofer themselves have written several books which are all in German language and available through their publisher (20). Mr. Ettl and Mr. Juergen-Ratthofer have also done two video films, "UFOs Das Dritte Reich Schlaege Zurueck?" and a second film, whose English title is "UFO Secrets of the 3rd Reich". This second film is very well done and contains the pictures mentioned earlier. These films should be seen by anyone seriously interested in German field propulsion saucers (21) (22).

Haunebu 2 Test Flight

Ghostly image of a saucer, said to be a Haunebu 2, on a test flight. Photograph originally from collection of Norbert-Juergen Ratthofer, courtesy of Vladimir Terziski

Mr. Juergen-Ratthofer, Mr. Ettl and allied writers offer two different systems for field propulsion. The smaller saucer-type, which they designate "Vril" was powered by three moving magnetic fields (23). The larger type, designated "Haunebu" was powered by a series of devices according to these writers. In this arrangement, the output of smaller of the Hans Coler "free energy" devices (24), the "Magnetapparat", was used to supply input for the larger Coler device, the "Stromerzeuger". The output of this second device was used to turn a Van de Graaf generator. This energy was directed into something called a Marconi ball dynamo with supplied lift to the saucer (25)(26).

All that seems to have been said about the latter device is that it is mentioned in the same sentence with special saucer condensers developed by T.T. Brown and Professor Paul Biefield in the nineteen twenties and that "such" ("solche") with a rotor system was done by Professor Marconi, in Italy, in the nineteen thirties. Mr. Juergen-Ratthofer goes on to say that this device is to be considered, in principle, a forerunner to the Searlsystem (27).

The Haunebu pictures strongly resemble the Adamski saucer pictures of the early 1950s. These saucers were seen and pictures of them taken world-wide. There were many different sources for both sighting of Adamski saucers and pictures of them. There were so many in the early 1950s that it is hard to believe that all of them are fakes. Mr. Ettl and Mr. Juergen- Ratthofer maintain that these "Adamski saucers" are really the German-designed Haunebu type saucers (28). Since they were flown after the war, certain questions as to their origin arise. These questions will be treated in an upcoming section of this book.

Besides the Vril and Haunebu designs mention is made by Mr. Juergen-Ratthofer of another type of field propulsion vehicle. This saucer uses a chemical engine to drive a field propulsion generator (29). The type of chemical engine involved is similar to the famous Walter (Walther) engine, which were to be installed on some types of German submarines.

The Walter process involved a closed circuit system activated by the thermal energy produced by the decomposition of a high concentration of hydrogen peroxide. This reaction occurred in the presence of a catalyst, potassium permanganate, in a decomposition chamber. This resulted in a 600 to 700 degree gas composed of steam and oxygen, under natural pressure sufficient to drive a turbine. After the gas had done its work if was fed into a reclamation chamber which recycled at least part of the gas back into the engine. Additional fuel, Juergen-Ratthofer mentions methanol, could be fed into the system for more heat. The system without additional fuel is called the "cold" system while with added fuel it is called the "hot" system. In fact, the cold system was used on the V-2 rocket to drive the turbo-fuel pumps since known pumps could not handle the volume of liquid necessary to feed this new type of rocket.

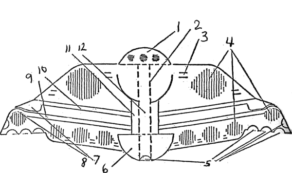
Hybrid Saucer Design

Chemical/Field Propulsion Saucer (N. Juergen-Ratthofer).

1. Plexiglass pilot's cabin.
2. Crew rooms.
3. Intake air slots (hermetically sealed in space).
4. Vacuum ring retainers with high-performance vacuum pumps.
5. Lifting and steering jets connected to the Walter turbine system.
6. Walter turbines and electric generators with connected machine maintenance rooms.
7.Disc rotor wheel, rotating clockwise.
8. Electromagnet outer ring rotating counter-clockwise.
9. Disc wheel, inner part of the electromagnet outer ring.
10. Segmented disc-rotor and wing screw with adjustable flight blades.
11. Axis of saucer with(a) two electric motors to drive the counter rotating disc motors: electro-gravitation plant, (b) various electrical connections, (c) fuel and water tanks. 12. Connection shaft between pilot's cabin and machine room.

In the hybrid saucer Mr. Juergen-Ratthofer describes, the cold system drives a rotor-stator arrangement which doubles as a blade lifting wing similar to that of a helicopter. The rotor-stator-blade is internally housed in the cowling of the saucer. The output of the rotor-stator is a strong magnetic field which presumably frees the saucer of the constraints of gravity as claimed for the other field propulsion saucers (30). In addition, spaces within the saucer have all air removed by special vacuum pumps with increase the buoyancy of the craft within the atmosphere. Further, some of the hot oxygen-steam mixture is jetted out at the periphery of the saucer while being mixed with methanol for additional heat and therefore thrust. Again, we are reminded of Dr. Belluzzo. We are also reminded of Vesco since he hints at a similar engine (31) which he even vaguely links with "electromagnetic waves" (32). Have we come full-circle?

In the same vane, would be negligent not to mention that anatomic engine might easily be substituted for the Walter engine. The atomic engine might be one of three types. It might be the type which burned the atmosphere itself. This burning would produce hot air and steam from the water contained in the atmosphere. It might be one which produced steam using water carried in tanks. It might be one which super-heats and ejects a gas such as hydrogen or helium. Any of these mediums could be ejected through the rotor blades yielding the desired result. A device of this type would tie together many of the German saucers-plans so far discussed.

Dr. Freeman points out that Marconi "stole" Tesla's inventions. Tesla also built a power-plant of spherical construction which contained vacuum tubes and so may have been superior to the device of Schappeller which we shall look at next. Surprisingly, some detail exists about this Tesla free energy device (33).Tesla used his engine to successfully power a Pierce Arrow automobile. This means that a spherical, working field propulsion device existed in the USA powering, not a flying saucer but an automobile. Dr. Freeman warns not to be confused by many spherical devices, all of which seem different. The fact is that they all work on the same principles (34).

German Field Propulsion Flying Saucers Sources and References

  1. X, Michael, 1960, pages 17, 33, We Want You Is Hitler Alive?, Futura Press, reprinted 1969 by Saucerian Books,Clarksburg, WV.

  2. Barton, Michael X., 1968, pages 26-36, The German SaucerStory, Futura Press, Los Angeles

  3. Zunneck, Karl-Heinz, 1998, pages 120-122, Geheimtechnologien. Wunderwaffen Und Irdischen Facetten Des UFO-Phaaenomens 50 Jahre Desinformaton und die Folaen. CTT-Verlag, Suhl

  4. Zunneck, Karl-Heinz, 1998, page 122

  5. Lyne, William R., 1999, page 48, Pentagon Aliens. Creatopia Productions, Lamy, New Mexico 87540

  6. Lyne, William R., 1999, page 28

  7. Lyne, Willaim R., 1999, page 38

  8. Lyne, William R., 1999, page 21

  9. Lyne, William R., 1999, pages 20, 41

  10. Lyne, William R., 1999, page 42

  11. Lyne, William R., 1999, pages 197-200

  12. ibid

  13. Trinkaus, George, 1988, pages 3-4, Tesla The Lost Inventions. High Voltage Press, Portland, OR.

  14. Lyne, William R., 1999, page 215

  15. Freeman, Gordon Dr., 3/18/01, personal letter to author

  16. Stoll, Axel Ph.D., 2001, pages 15-20, Hochtechnologie imDritten Reich Reichsdeutsche Entwicklunqen und die vermutlich wahre Herkunft der "UFOs". Amun-Verlag, Schleusesiedlung 2,D-98553 Schleusingen

  17. Ettl, Ralf, 1999, page 11, "Notes To The Vril-Project" Ursprung und Quellen

  18. Haarmann, D.H., 1983, Geheime Wunderwaffenr II Geheime Wunderwaffen. III Geheime Wunderwaffen, Hugin Gesellschaft Fuer Politisch-Philosophische Studien E.V., Postfach 23, D- 48472, Hoerstel 3, Germany

  19. Bergmann, O., 1988 and 1989, 1 Deutsche Flugscheiben und U- Boote Ueberwachen Die Weltmeere. 11 Deutsche Fluqscheiben undU-Boote Ueberwachen Die Weltmeere, Hugin Gesellschaft Fuer Politisch-Philosophische Studien E.V., Postfach 23, D-484772, Hoerstel 3, Germany

  20. Dr. Michael Daemboeck Verlag, Markt 86, A-3321 Ardaggr, Austria

  21. Video Film "UFOs Das Dritte Reich Schlaegt Zurueck?,available through Dr. Michael Daemboeck Verlag, see reference (18)

  22. Video Film "UFO Secrets of the 3rd Reich" available through Total Solutions International, Las Vegas, NV.

  23. van Helsing, Jan, 1993, page 129, Geheim Gesellschaften und ihre Macht im 20. Jahrhundert, Ewertverlag, Meppen, Germany

  24. British Intelligence Objectives Sub-Committee Final ReportNo. 1043 Item No. 31, "The Invention Of Hans Coler, Relating To An Alleged New Source Of Power"

  25. Video Film "UFOs Das Dritte Reich Schlaegt Zurueck?,available through Dr. Michael Daemboeck Verlag, see reference(18)

  26. Juergen-Ratthofer, Norbert and Ralf Ettl, 1992, page 51, DasVril-Projekt. Dr. Michael Daemboeck Verlag, Ardaggr, Austria

  27. Juergen-Ratthofer, Norbert, date unknown, page 16, "GeheimeUFO, 1. Folge: Flugscheibenprojekte aus verschiedenen Staatender Erde", this article was courtesy of Theo Paymans, Holland

  28. Juergen-Ratthofer, Norbert, date unknown, pages 84,85,Fluqscheiben und andere deutsche und iapanische Geheim- und Wunderwaffen im Zweiten Weltkrieg, self-published, availablethrough reference (18)

  29. Juergen-Ratthofer, Norbert, date unknown, pages 1 and 16,"Geheime UFO, 2. Folge So baut man fliegende Untertassen—und so funktionieren sie", this article was courtesy of TheoPaymans, Holland

  30. ibid

  31. Vesco, Renato, 1976, pages 163 and 164, Intercept UFO.Pinnacle Books, New York

  32. Vesco, Renato, 1976, pages 135-136

  33. Nieper, Hans A., 1985, pages 188-189, Conversion of Gravity Field Energy Revolution in Technology, Medicine and Society, MIT Verlag, Oldenburg

  34. Freeman, Gordon Dr., 3/18/01, personal letter

Chapter 4 Index

Main Index